Запчасти Komatsu GH320-2 ЗАДН. VIEW MIRROR РАМА И ЧАСТИ КОРПУСА

Схема запчастей Komatsu GH320-2 - ЗАДН. VIEW MIRROR РАМА И ЧАСТИ КОРПУСА
FIT
1:1
100%

Артикул

Название

Примечание

Количество

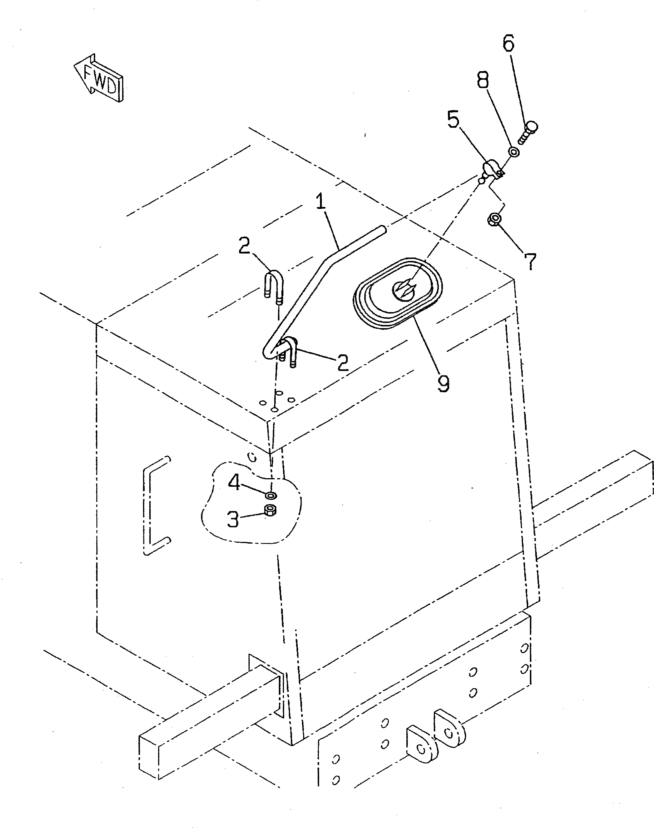
1

237-06-14230

STAY

SN: 11001-UP

1шт.

2

07283-32746

CLIP

SN: 11001-UP

2шт.

3

01583-11006

NUT

SN: 11001-UP

4шт.

4

01643-31032

WASHER

SN: 11001-UP

4шт.

5

232-06-15151

PIVOT

SN: 11001-UP

1шт.

6

01010-80825

BOLT

SN: .-UP

1шт.

|6

0

BOLT

SN: 11001-.

1шт.

7

01580-10806

NUT

SN: 11001-UP

1шт.

8

01643-30823

WASHER

SN: 11001-UP

1шт.

9

08174-10001

MIRROR

SN: 11001-UP

1шт.

Выбрано товаров: 10