Запчасти Komatsu GH320-2 ГИДРОЛИНИЯ (НАСОС РУЛЕВ. УПРАВЛ-Я - БАК) (БЕЗ АВТОМАТИЧ. ОТВАЛ FOOT ПЕРЕКЛЮЧАТЕЛЬ)(№-) ГИДРАВЛИКА

Схема запчастей Komatsu GH320-2 - ГИДРОЛИНИЯ (НАСОС РУЛЕВ. УПРАВЛ-Я - БАК) (БЕЗ АВТОМАТИЧ. ОТВАЛ FOOT ПЕРЕКЛЮЧАТЕЛЬ)(№-) ГИДРАВЛИКА
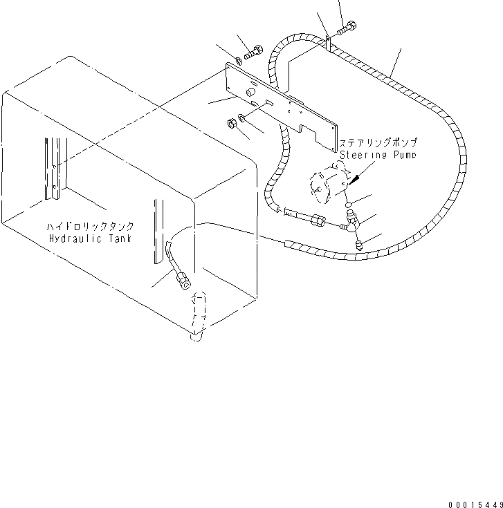
1
2
3
4
5
6
7
8
9
10
11
12
FIT
1:1
100%

Артикул

Название

Примечание

Количество

1

237-11-22220

ELBOW

SN: 12001-UP

1шт.

2

238-40-16140

O-RING

SN: 12001-UP

1шт.

3

07042-30108

PLUG

SN: 12001-UP

1шт.

4

07102-20414

HOSE

SN: 12001-UP

1шт.

5

04434-52208

CLIP

SN: 12001-UP

1шт.

6

01010-80820

BOLT

SN: .-UP

1шт.

|6

0

BOLT

SN: 12001-.

1шт.

7

01643-30823

WASHER

SN: 12001-UP

1шт.

8

01580-10806

NUT

SN: 12001-UP

1шт.

9

23F-843-1610

PLATE

SN: 12001-UP

1шт.

10

01010-81025

BOLT

SN: .-UP

4шт.

|10

0

BOLT

SN: 12001-.

4шт.

11

01643-31032

WASHER

SN: 12001-UP

4шт.

12

273-60-24450

TUBE,SPIRAL

SN: 12001-UP

2шт.

Выбрано товаров: 14