Запчасти Komatsu GH320-2 РЕЗЕРВН. БАК РАДИАТОРА(№-8) КОМПОНЕНТЫ ДВИГАТЕЛЯ И ЭЛЕКТРИКА

Схема запчастей Komatsu GH320-2 - РЕЗЕРВН. БАК РАДИАТОРА(№-8) КОМПОНЕНТЫ ДВИГАТЕЛЯ И ЭЛЕКТРИКА
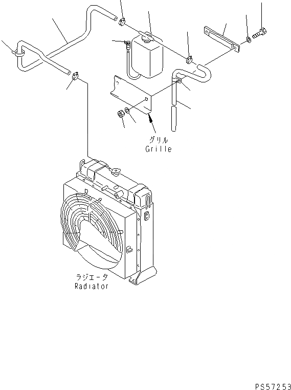
1
2
2
2
3
4
5
6
7
7
8
9
9
10
FIT
1:1
100%

Артикул

Название

Примечание

Количество

1

23D-03-13130

HOSE

SN: 11001-@

1шт.

2

206-03-43340

CLIP

SN: 11003-@

3шт.

|2

07281-00137

CLAMP

SN: 11001-11002

3шт.

3

07270-60811

TUBE

SN: 11002-@

1шт.

|3

0

TUBE

SN: 11001-11001

1шт.

4

205-03-71242

TANK

SN: 11001-11008

1шт.

5

23A-03-21330

PLATE

SN: 11001-11008

1шт.

6

01011-51075

BOLT

SN: 11001-11008

2шт.

7

01643-31032

WASHER

SN: 11001-@

4шт.

8

01598-01011

NUT

SN: 11001-@

2шт.

9

08036-01214

CLIP

SN: 11001-@

3шт.

10

08034-00414

BAND

SN: 11001-@

1шт.

Выбрано товаров: 12