Запчасти Komatsu 445FXL-1 H7-A ПОВОРОТН. КОЛЛЕКТОР КРЕПЛЕНИЕ ГИДРАВЛИКА

Схема запчастей Komatsu 445FXL-1 - H7-A ПОВОРОТН. КОЛЛЕКТОР КРЕПЛЕНИЕ ГИДРАВЛИКА
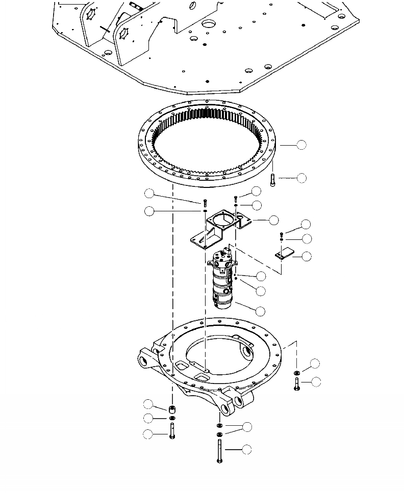
17
16
7
3
6
9
8
5
3
4
3
2
1
10
11
12
13
12
14
15
FIT
1:1
100%

Артикул

Название

Примечание

Количество

1

MANIFOLD, ROTARY ( SEE FIG. H0270-01A0 )

SN: A10001--UP

-1шт.

2

10815KF

NUT, LOCK (1/2 IN)

SN: A10001--UP

4шт.

3

10804KF

WASHER, FLAT (1/2 IN)

SN: A10001--UP

6шт.

4

24894KF

BRACKET, INNER SWIVEL LOCK

SN: A10001--UP

1шт.

5

22463KF

BOLT (1/2 x 1-1/4 IN)

SN: A10001--UP

2шт.

6

20024KF

BRACKET, ROTARY MANIFOLD

SN: A10001--UP

1шт.

7

10736KF

BOLT (1/2 IN x 2 IN)

SN: A10001--UP

4шт.

8

10804KF

WASHER, FLAT (1/2 IN)

SN: A10001--UP

4шт.

9

10739KF

BOLT (1/2 IN x 1-1/2 IN)

SN: A10001--UP

4шт.

10

15579KF

WASHER, SAE FLAT (1 IN)

SN: A10001--UP

4шт.

11

85776KF

BOLT (HHCS 1 - 8 x 2.5 GR 9)

SN: A10001--UP

4шт.

12

18532KF

WASHER, SAE FLAT EXTRA THICK (1 IN)

SN: A10001--UP

26шт.

13

82748KF

BOLT (1 IN x 9 IN)

SN: A10001--UP

4шт.

14

27979

BOLT

SN: A10001--UP

14шт.

15

12463KF

SPACER, UPPER TURNTABLE BOLT

SN: A10001--UP

14шт.

16

19813KF

BOLT, ALLEN HEAD (1 IN x 4-1/4 IN)

SN: A10001--UP

29шт.

17

4A1-25-10070

BEARING, SWING

SN: A10001--UP

1шт.

N/I

19814KF

BOLT (1 IN x 4 IN)

SN: A10001--UP

1шт.

N/I

26712KF

INSULATION, SOUNDPROOF

SN: A10001--UP

1шт.

Выбрано товаров: 19