Запчасти Komatsu 450FXL-1 C-A РАДИАТОР OVERПОТОК ЛИНИИ СИСТЕМА ОХЛАЖДЕНИЯ

Схема запчастей Komatsu 450FXL-1 - C-A РАДИАТОР OVERПОТОК ЛИНИИ СИСТЕМА ОХЛАЖДЕНИЯ
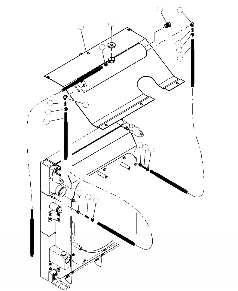
2
3
7
1
4
5
5
6
4
3
5
6
8
4
5
8
4
5
FIT
1:1
100%

Артикул

Название

Примечание

Количество

1

PANEL, MUFFLER ( SEE FIG. J0100-01A0 )

SN: A10001--UP

-1шт.

2

24308KF

SIGHT GLASS

SN: A10001--UP

1шт.

3

16251

ELBOW (90 DEGREE)

SN: A10001--UP

2шт.

4

16989

CONNECTOR, STRAIGHT HOSE BARB (4245-5-2)

SN: A10001--UP

3шт.

5

07281-00167

CLAMP, WORM STYLE HOSE (5/8 IN)

SN: A10001--UP

5шт.

6

16238023KF

HOSE, FUEL LINE

SN: A10001--UP

2шт.

7

85754KF

CAP, RADIATOR

SN: A10001--UP

1шт.

8

85804KF

FITTING, COOLER FLOW ORIFICE

SN: A10001--UP

2шт.

N/I

26568KF

GROMMET

SN: A10001--UP

2шт.

N/I

26734KF

FOAM, RADIATOR BARRIER

SN: A10001--UP

1шт.

Выбрано товаров: 10