Запчасти Komatsu 450FXL-1 V-A FIRE SUPPRESSION СИСТЕМА EXTERIOR РУЧН. АКТУАТОР АКСЕССУАРЫ

Схема запчастей Komatsu 450FXL-1 - V-A FIRE SUPPRESSION СИСТЕМА EXTERIOR РУЧН. АКТУАТОР АКСЕССУАРЫ
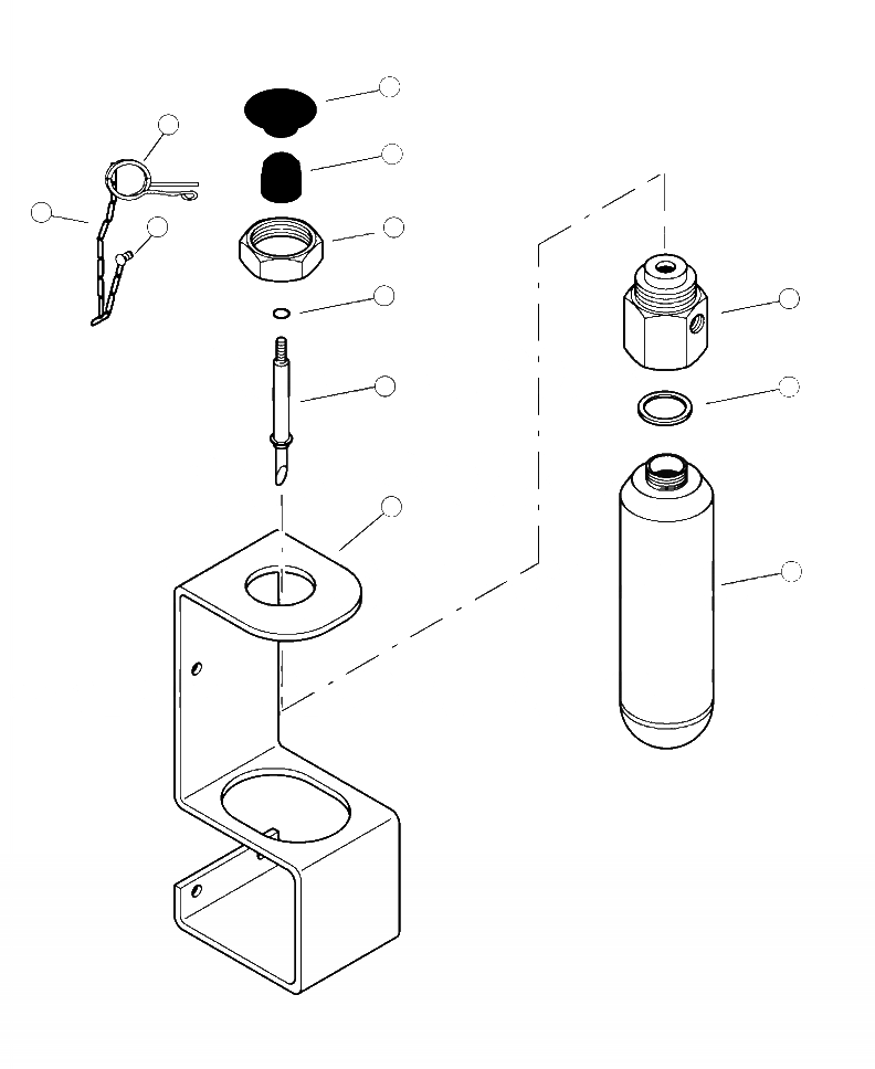
1
3
2
4
5
6
7
9
8
10
11
12
FIT
1:1
100%

Артикул

Название

Примечание

Количество

|$0

21264

ACTUATOR ASSEMBLY, EXTERIOR MANUAL

SN: A10001--UP

1шт.

1

21265

KNOB

SN: A10001--UP

1шт.

2

21266

BOOT

SN: A10001--UP

1шт.

3

21272

PIN, SAFETY RING

SN: A10001--UP

1шт.

4

21273

CHAIN

SN: A10001--UP

1шт.

5

21274

SCREW

SN: A10001--UP

1шт.

N/I

21275

WIRE, LEAD SEAL

SN: A10001--UP

1шт.

6

21267

NUT, JAM

SN: A10001--UP

1шт.

7

19707

O-RING, PUNCTURE PIN

SN: A10001--UP

1шт.

8

21271

PIN, PUNCTURE

SN: A10001--UP

1шт.

9

21269

BODY, ACTUATOR

SN: A10001--UP

1шт.

10

21258

GASKET

SN: A10001--UP

1шт.

11

21268

BRACKET, MANUAL ACTUATOR

SN: A10001--UP

1шт.

12

21259

CARTRIDGE, MANUAL ACTUATOR (WITH CAP)

SN: A10001--UP

1шт.

|$14

14

-1шт.

|$15

F1 - THIS PART IS AVAILABLE FROM AUTHORIZED ANSUL DISTRIBUTORS ONLY.

15

-1шт.

Выбрано товаров: 16