Запчасти Komatsu XT430L-2 T-A ТЕЛЕСКОПИЧЕСК. РУКОЯТЬ ЛЕВ. И TOP WEAR ПЛАСТИНЫ РАБОЧЕЕ ОБОРУДОВАНИЕ

Схема запчастей Komatsu XT430L-2 - T-A ТЕЛЕСКОПИЧЕСК. РУКОЯТЬ ЛЕВ. И TOP WEAR ПЛАСТИНЫ РАБОЧЕЕ ОБОРУДОВАНИЕ
2
3
10
9
2
8
6
2
3
4
4
5
7
6
1
5
FIT
1:1
100%

Артикул

Название

Примечание

Количество

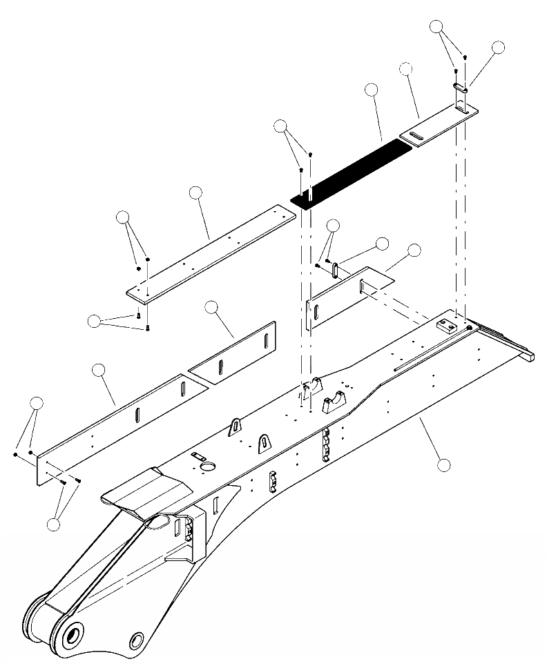
1

ARM, TELESCOPIC ( SEE FIG. T3000-01A0 )

-1шт.

2

21068

BOLT, BRASS

1шт.

3

21069

PUCK, TAPPED

8шт.

4

21070

PLATE, WEAR

2шт.

N/I

21071

SHIM, WEAR PLATE

1шт.

5

21080

SCREW, WEAR PLATE MOUNTING

8шт.

6

10700

NUT, HEX

8шт.

7

21073

PLATE, WEAR

1шт.

N/I

21071

SHIM, WEAR PLATE

1шт.

8

21081

PLATE, WEAR

1шт.

9

21074

PLATE, BRASS TAPPED WEAR

1шт.

N/I

21075

SHIM, BRASS WEAR PLATE

1шт.

10

21076

PLATE, WEAR

1шт.

N/I

21077

SHIM, WEAR PLATE

1шт.

Выбрано товаров: 14