Запчасти Komatsu XT450L-2 K-A ДЖОЙСТИК УПРАВЛ-Е КРЕПЛЕНИЕ ДЛЯ КАБИНЫ OPERATOR СИДЕНЬЕ OPERATORS ОБСТАНОВКА И СИСТЕМА УПРАВЛЕНИЯ

Схема запчастей Komatsu XT450L-2 - K-A ДЖОЙСТИК УПРАВЛ-Е КРЕПЛЕНИЕ ДЛЯ КАБИНЫ OPERATOR СИДЕНЬЕ OPERATORS ОБСТАНОВКА И СИСТЕМА УПРАВЛЕНИЯ
4
7
4
4
7
6
7
2
2
1
2
3
5
FIT
1:1
100%

Артикул

Название

Примечание

Количество

|$0

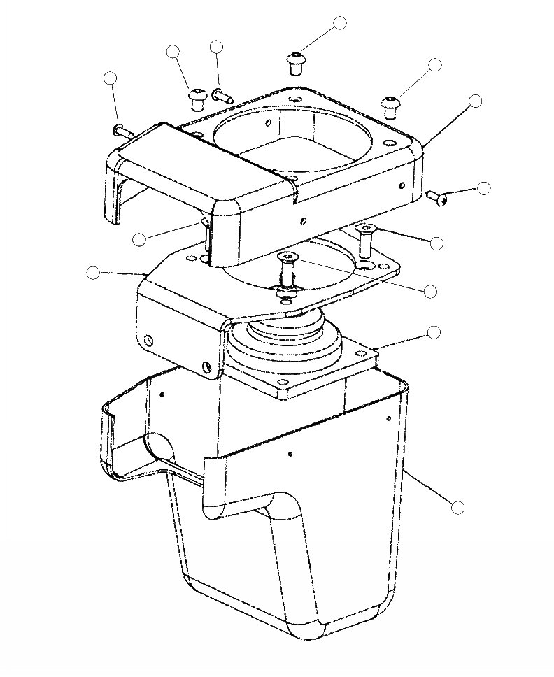
85868KF

MOUNTING ASSEMBLY, JOYSTICK CONTROL

1шт.

1

81165KF

BRACKET, JOYSTICK MOUNTING

1шт.

2

85869KF

SCREW

8шт.

3

24467KF

CONTROLLER, JOYSTICK

1шт.

4

85867KF

SCREW

8шт.

|$5

5060267KF

HOLDER ASSEMBLY, JOYSTICK

1шт.

5

NSS

COVER, BOTTOM

1шт.

6

NSS

COVER, TOP

1шт.

7

85870

SCREW

4шт.

N/I

4A1-54-10310

PLATE, KAB SEAT LINKAGE

1шт.

Выбрано товаров: 10