Запчасти Komatsu JP45-2 КРЕПЛЕНИЕ ДВИГАТЕЛЯ VIBRO ПЛАСТИНА

Схема запчастей Komatsu JP45-2 - КРЕПЛЕНИЕ ДВИГАТЕЛЯ VIBRO ПЛАСТИНА
FIT
1:1
100%

Артикул

Название

Примечание

Количество

|1

26993-21-001

VIBRO PLATE ASS'Y

SN: 12856-UP

1шт.

|1

26993-21-000

VIBRO PLATE ASS'Y

SN: 12001-12855

1шт.

|$$3

-1шт.

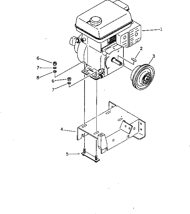
1

26993-15-001

ENGINE ASS'Y,(ROBIN EY08D)

SN: 12001-UP

1шт.

2

04000-00530

KEY

SN: 12001-UP

1шт.

3

26993-12-100

CLUTCH

SN: 12001-UP

1шт.

4

26993-21-400

BASE,ENGINE

SN: 12001-UP

1шт.

5

26993-11-600

SUPPORT,ENGINE

SN: 12001-UP

2шт.

6

01580-00806

NUT

SN: 12001-UP

4шт.

7

01602-00825

WASHER,SPRING

SN: 12001-UP

4шт.

8

01641-20812

WASHER

SN: 12001-UP

2шт.

Выбрано товаров: 11