Запчасти Komatsu JP60SS-1 ОСНОВА И КРЫШКА VIBRO ПЛАСТИНА

Схема запчастей Komatsu JP60SS-1 - ОСНОВА И КРЫШКА VIBRO ПЛАСТИНА
FIT
1:1
100%

Артикул

Название

Примечание

Количество

|1

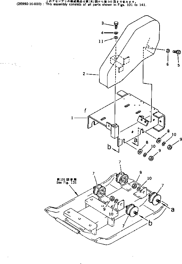
26990-16-000

VIBRO PLATE ASS'Y

SN: 50001-UP

1шт.

1

26990-11-400

BASE

SN: 50001-UP

1шт.

2

26990-16-500

COVER,BELT

SN: 50001-UP

1шт.

3

01010-51035

BOLT

SN: 50001-UP

1шт.

4

01602-21030

WASHER,SPRING

SN: 50001-UP

1шт.

5

01010-50816

BOLT

SN: 50001-UP

2шт.

6

01602-20825

WASHER,SPRING

SN: 50001-UP

2шт.

7

2692-1-12510

RUBBER,CUSHION

SN: 50001-UP

4шт.

8

26991-12-481

WASHER

SN: 50001-UP

4шт.

9

01580-11210

NUT

SN: 50001-UP

8шт.

10

01602-21236

WASHER,SPRING

SN: 50001-UP

8шт.

11

01640-21016

WASHER

SN: 50001-UP

1шт.

Выбрано товаров: 12