Запчасти Komatsu JP70-3 РАЗБРЫЗГИВАНИЕ ВОДЫ (OP)(№-7) VIBRO ПЛАСТИНА

Схема запчастей Komatsu JP70-3 - РАЗБРЫЗГИВАНИЕ ВОДЫ (OP)(№-7) VIBRO ПЛАСТИНА
FIT
1:1
100%

Артикул

Название

Примечание

Количество

|1

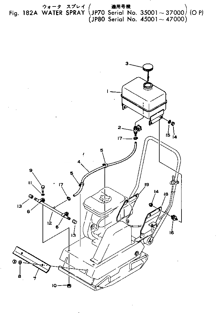
26991-24-100

WATER SPRAY ASS'Y

SN: 35001-37000

1шт.

1

26991-13-200

TANK,WATER

SN: 30566-37000

1шт.

2

26991-13-410

CAP,WATER TANK

SN: 30566-37000

1шт.

3

26991-13-300

VALVE,WATER

SN: 30566-37000

1шт.

4

26991-24-130

HOSE,WATER

SN: 35001-37000

1шт.

5

26991-13-620

CLIP (WELDED)

SN: 35001-37000

2шт.

6

26991-13-450

CLAMP

SN: 30566-37000

2шт.

7

26991-24-140

BRACKET

SN: 35001-37000

1шт.

8

2691-1-18220

WASHER

SN: 35001-37000

2шт.

9

01010-30825

BOLT

SN: 35001-37000

2шт.

10

01580-00806

NUT

SN: 35001-37000

2шт.

11

01602-00825

WASHER,SPRING

SN: 35001-37000

2шт.

12

26991-13-500

TUBE,WATER

SN: 30566-37000

1шт.

13

26991-13-490

CAP,WATER TUBE

SN: 30566-37000

2шт.

14

26991-13-470

U-NUT

SN: 30566-37000

8шт.

15

26991-11-670

WASHER

SN: 30566-37000

4шт.

16

26991-13-480

RUBBER,CUSHION

SN: 30566-37000

4шт.

17

07280-01210

CLAMP,HOSE

SN: 30566-37000

2шт.

18

26991-24-110

BRACKET (WELDED)

SN: 35001-37000

1шт.

19

26991-24-120

BRACKET (WELDED)

SN: 35001-37000

1шт.

Выбрано товаров: 20