Запчасти Komatsu JP70-3 ENGING КРЕПЛЕНИЕ(№-7) VIBRO ПЛАСТИНА

Схема запчастей Komatsu JP70-3 - ENGING КРЕПЛЕНИЕ(№-7) VIBRO ПЛАСТИНА
FIT
1:1
100%

Артикул

Название

Примечание

Количество

|1

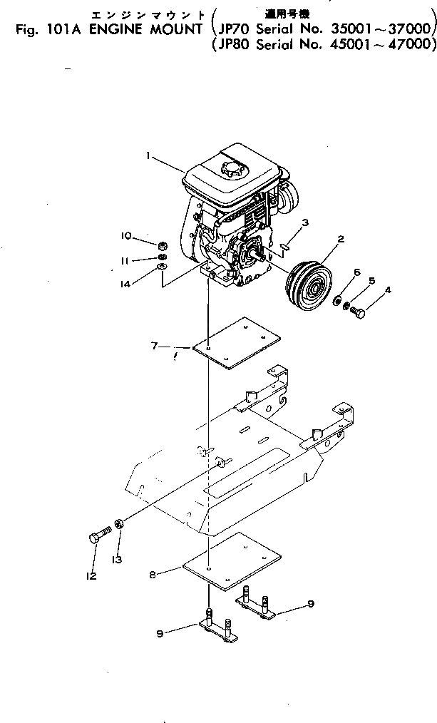
26991-21-001

VIBRO PLATE ASS'Y

SN: 36001-37000

1шт.

|1

26991-21-000

VIBRO PLATE ASS'Y

SN: 35001-36000

1шт.

1

26991-25-001

ENGINE ASS'Y,(ROBIN EY15D)

SN: 36001-37000

1шт.

|1

26991-25-000

ENGINE ASS'Y,(ROBIN EY14D)

SN: 35001-36000

1шт.

2

26991-22-100

CLUTCH

SN: 35001-@

1шт.

3

04000-00530

KEY

SN: 35001-@

1шт.

4

01010-30830

BOLT

SN: 35001-@

1шт.

5

01602-00825

WASHER,SPRING

SN: 35001-@

1шт.

6

26991-11-670

WASHER

SN: 30001-@

1шт.

7

26991-21-730

PLATE,ENGINE BASE

SN: 35001-37000

1шт.

8

26991-21-720

PLATE,ENGINE BASE

SN: 35001-37000

1шт.

9

26991-21-600

SUPPORT,ENGINE

SN: 35001-@

2шт.

10

01580-00806

NUT

SN: 35001-@

4шт.

11

01602-00825

WASHER,SPRING

SN: 35001-@

4шт.

12

01016-30860

BOLT

SN: 35441-37000

2шт.

|12

01016-30880

BOLT

SN: 35001-35440

2шт.

13

01580-00806

NUT

SN: 35001-37000

2шт.

14

01641-20812

WASHER

SN: 36001-37000

4шт.

|14

01641-20812

WASHER

SN: 35001-36000

2шт.

Выбрано товаров: 0