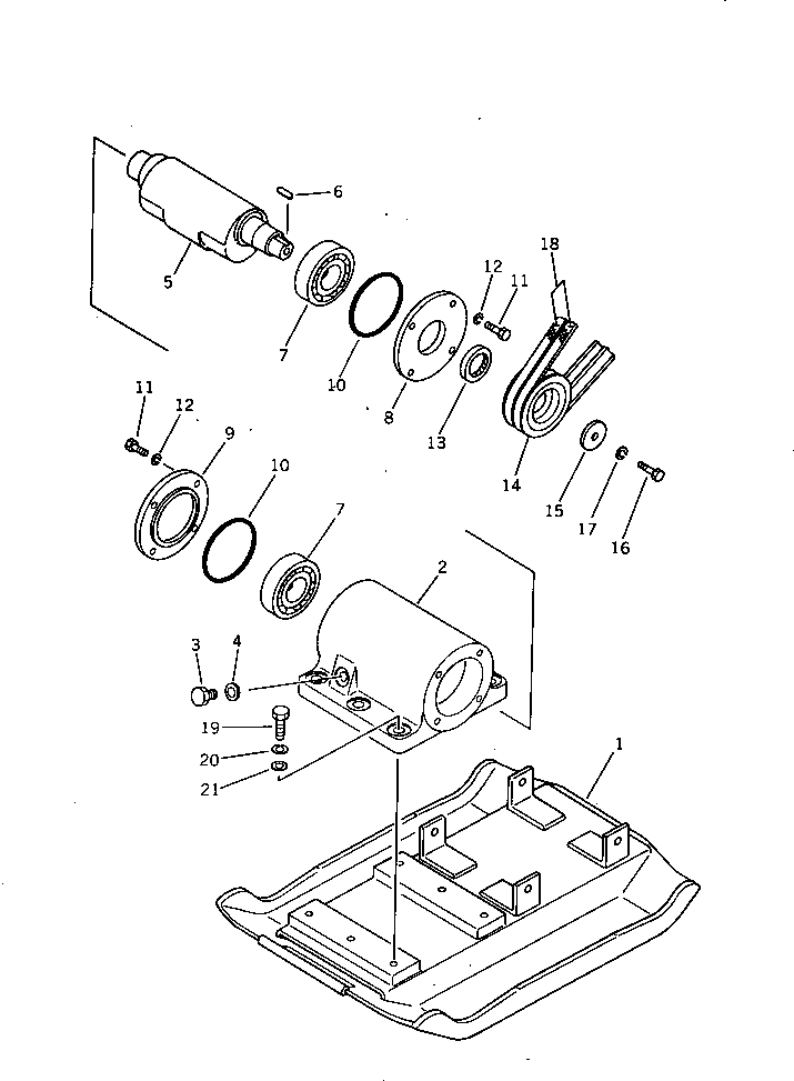
Запчасти Komatsu JP70-5 VIBRATION КОРПУС И ПЛАСТИНА VIBRO ПЛАСТИНА

Схема запчастей Komatsu JP70-5 - VIBRATION КОРПУС И ПЛАСТИНА VIBRO ПЛАСТИНА
FIT
1:1
100%

Артикул

Название

Примечание

Количество

|1

26991-31-001

VIBRO PLATE ASS'Y

SN: 40346-UP

1шт.

|1

26991-31-000

VIBRO PLATE ASS'Y

SN: 40001-40345

1шт.

|$$3

-1шт.

1

26991-31-100

PLATE ASS'Y

SN: 40001-UP

1шт.

|2

26991-31-800

CASE ASS'Y,VIBRATION

SN: 40001-UP

1шт.

2

26990-11-811

CASE

SN: 40001-UP

1шт.

3

26991-21-882

PLUG

SN: 40001-UP

1шт.

4

26991-21-892

PACKING

SN: 40001-UP

1шт.

5

26991-31-820

SHAFT

SN: 40001-UP

1шт.

6

04000-08020

KEY

SN: 40001-UP

1шт.

7

06000-06307

BEARING

SN: 40001-UP

2шт.

8

26990-11-840

COVER

SN: 40001-UP

1шт.

9

26990-11-830

COVER

SN: 40001-UP

1шт.

10

26990-11-860

O-RING

SN: 40001-UP

2шт.

11

01010-30825

BOLT

SN: 40001-UP

8шт.

12

01602-00825

WASHER,SPRING

SN: 40001-UP

8шт.

13

267-94-22030

SEAL,OIL

SN: 40001-UP

1шт.

14

258-05-20402

PULLEY

SN: 40001-UP

1шт.

15

2693-4-12410

WASHER

SN: 40001-UP

1шт.

16

01010-31025

BOLT

SN: 40001-UP

1шт.

17

01602-01030

WASHER,SPRING

SN: 40001-UP

1шт.

18

26991-31-750

V-BELT,(REDSA-31)

SN: 40001-UP

2шт.

19

01010-31245

BOLT

SN: 40001-UP

6шт.

20

01602-01236

WASHER,SPRING

SN: 40001-UP

6шт.

21

01643-31232

WASHER

SN: 40001-UP

6шт.

Выбрано товаров: 25