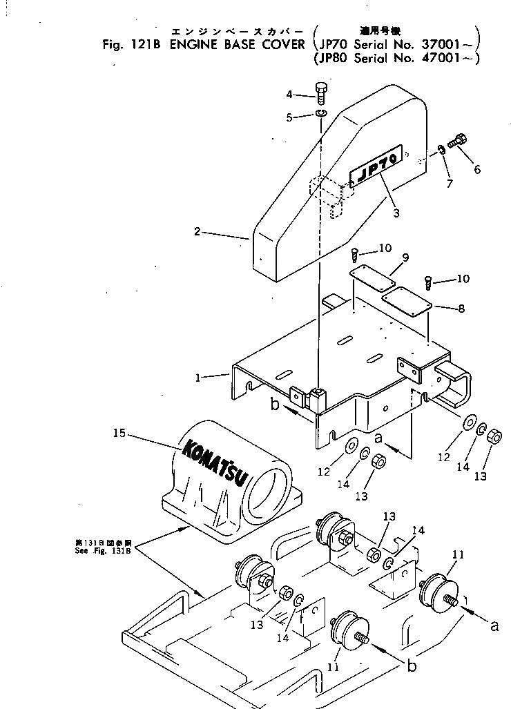
Запчасти Komatsu JP80-3 ДВИГАТЕЛЬ ОСНОВ. COVER VIBRO ПЛАСТИНА

Схема запчастей Komatsu JP80-3 - ДВИГАТЕЛЬ ОСНОВ. COVER VIBRO ПЛАСТИНА
FIT
1:1
100%

Артикул

Название

Примечание

Количество

|1

26992-21-002

VIBRO PLATE ASS'Y

SN: 47001-UP

1шт.

1

0

COVER,ENGINE BASE

SN: 47001-UP

1шт.

2

26991-21-501

COVER,BELT

SN: 47001-UP

1шт.

3

26992-11-711

PLATE¤ NAME

SN: 48426-UP

1шт.

|3

26992-11-710

PLATE¤ NAME

SN: 47001-48425

1шт.

4

01010-31035

BOLT

SN: 47226-UP

1шт.

|4

01010-31020

BOLT

SN: 47001-47225

1шт.

5

01602-01030

WASHER,SPRING

SN: 47001-UP

1шт.

6

01010-30816

BOLT

SN: 47001-UP

2шт.

7

01602-00825

WASHER,SPRING

SN: 47001-UP

2шт.

8

26991-11-720

PLATE¤ NAME,(LIMITED SUPPLY)

SN: 45001-UP

1шт.

9

09601-00835

PLATE¤ NAME,(LIMITED SUPPLY)

SN: 48426-UP

1шт.

|9

2692-9-11170

PLATE¤ NAME,(LIMITED SUPPLY)

SN: 45001-48425

1шт.

10

04418-13060

SCREW

SN: 45001-UP

8шт.

11

26991-11-611

RUBBER

SN: 47001-UP

4шт.

12

26991-12-481

WASHER

SN: 47001-UP

4шт.

13

01580-01210

NUT

SN: 47001-UP

8шт.

14

01602-01236

WASHER,SPRING

SN: 47001-UP

8шт.

15

258-06-90052

PLATE¤ MARK

SN: 48386-UP

1шт.

Выбрано товаров: 0