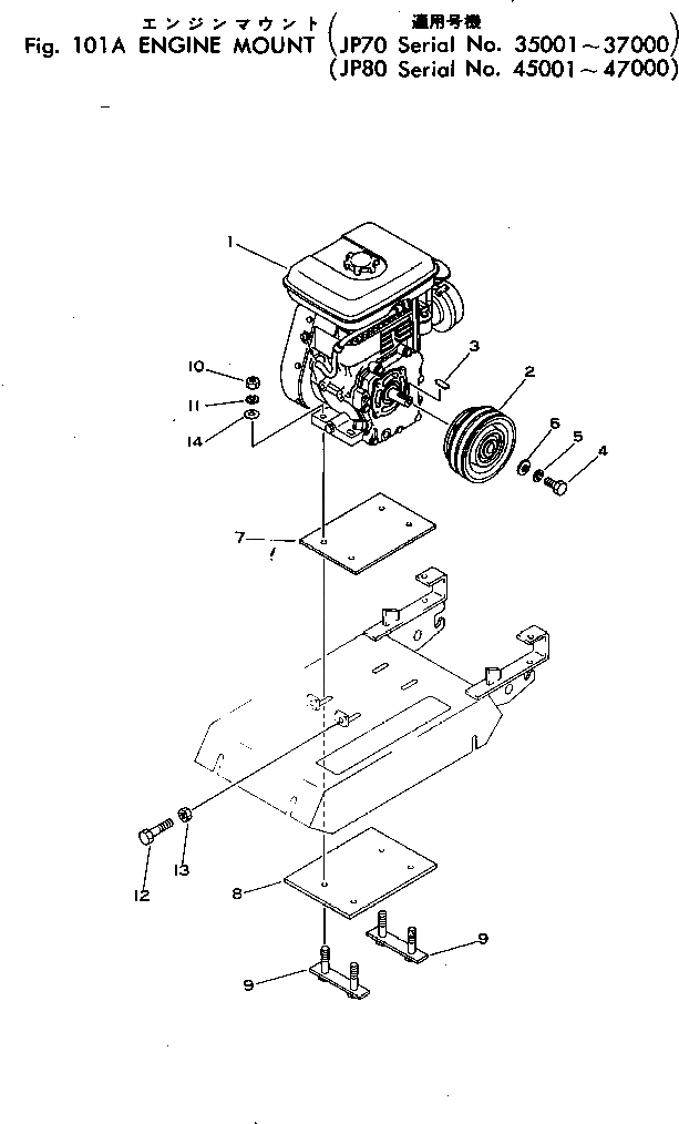
Запчасти Komatsu JP80-3 ENGING КРЕПЛЕНИЕ(№-7) VIBRO ПЛАСТИНА

Схема запчастей Komatsu JP80-3 - ENGING КРЕПЛЕНИЕ(№-7) VIBRO ПЛАСТИНА
FIT
1:1
100%

Артикул

Название

Примечание

Количество

|1

26992-21-001

VIBRO PLATE ASS'Y

SN: 46001-47000

1шт.

|1

26992-21-000

VIBRO PLATE ASS'Y

SN: 45001-46000

1шт.

1

26992-25-001

ENGINE ASS'Y,(ROBIN EY20D)

SN: 46001-47000

1шт.

|1

26992-25-000

ENGINE ASS'Y,(ROBIN EY18D)

SN: 45001-46000

1шт.

2

26992-22-100

CLUTCH

SN: 45001-@

1шт.

3

04000-00535

KEY

SN: 45001-@

1шт.

4

01010-30830

BOLT

SN: 45001-@

1шт.

5

01602-00825

WASHER,SPRING

SN: 45001-@

1шт.

6

26991-11-670

WASHER

SN: 40001-@

1шт.

7

26991-21-730

PLATE,ENGINE BASE

SN: 46001-47000

1шт.

|7

26992-21-730

PLATE,ENGINE BASE

SN: 45001-46000

1шт.

8

26991-21-720

PLATE,ENGINE BASE

SN: 46001-47000

1шт.

|8

26992-21-720

PLATE,ENGINE BASE

SN: 45001-46000

1шт.

9

26991-21-600

SUPPORT,ENGINE

SN: 46001-@

2шт.

|9

26992-21-600

SUPPORT,ENGINE

SN: 45001-46000

2шт.

10

01580-00806

NUT

SN: 46001-@

4шт.

|10

01580-01008

NUT

SN: 45001-46000

4шт.

11

01602-00825

WASHER,SPRING

SN: 46001-@

4шт.

|11

01602-01030

WASHER,SPRING

SN: 45001-46000

4шт.

12

01016-30860

BOLT

SN: 45601-47000

2шт.

|12

01016-30880

BOLT

SN: 45001-45600

2шт.

13

01580-00806

NUT

SN: 45001-47000

2шт.

14

01641-20812

WASHER

SN: 46001-47000

4шт.

|14

01641-21016

WASHER

SN: 45001-46000

2шт.

Выбрано товаров: 24