Запчасти Komatsu JV06H-2 ПРИВОД COVER ДВИГАТЕЛЬ¤ КОМПОНЕНТЫ ДВИГАТЕЛЯ И ЭЛЕКТРИКА

Схема запчастей Komatsu JV06H-2 - ПРИВОД COVER ДВИГАТЕЛЬ¤ КОМПОНЕНТЫ ДВИГАТЕЛЯ И ЭЛЕКТРИКА
FIT
1:1
100%

Артикул

Название

Примечание

Количество

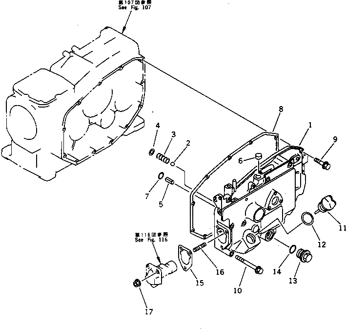
1

YM705100-01501

HOUSING ASS'Y

SN: 2991-UP

1шт.

1

YM705100-01500

HOUSING ASS'Y

SN: 2501-2990

1шт.

2

YM24190-120001

BALL

SN: 2501-UP

1шт.

3

YM105300-34040

SPRING

SN: 2501-UP

1шт.

4

YM22252-000100

CLIP

SN: 2501-UP

1шт.

5

YM22351-060012

PIN,SPRING

SN: 2501-UP

1шт.

6

YM105100-01660

PLUG

SN: 2501-UP

1шт.

7

YM24311-000060

O-RING

SN: 2501-UP

1шт.

8

YM105100-01410

GASKET

SN: 2501-UP

1шт.

9

YM26106-060302

BOLT

SN: 2501-UP

7шт.

10

YM26106-060702

BOLT

SN: 2501-UP

5шт.

11

YM105190-01750

CAP

SN: 2501-UP

1шт.

12

YM101104-01760

GASKET

SN: 2501-UP

1шт.

13

YM105300-01690

PLUG,DRAIN

SN: 2501-UP

1шт.

14

YM24321-000250

O-RING

SN: 2501-UP

1шт.

15

YM104271-01950

SHIM ASS'Y

SN: 2501-UP

1шт.

15

YM105300-01920

SHIM, 0.1MM,(SERVICE PARTS)

SN: 2501-UP

1шт.

16

YM26216-080222

STUD

SN: 2501-UP

3шт.

17

YM26366-080002

NUT

SN: 2501-UP

3шт.

Выбрано товаров: 19