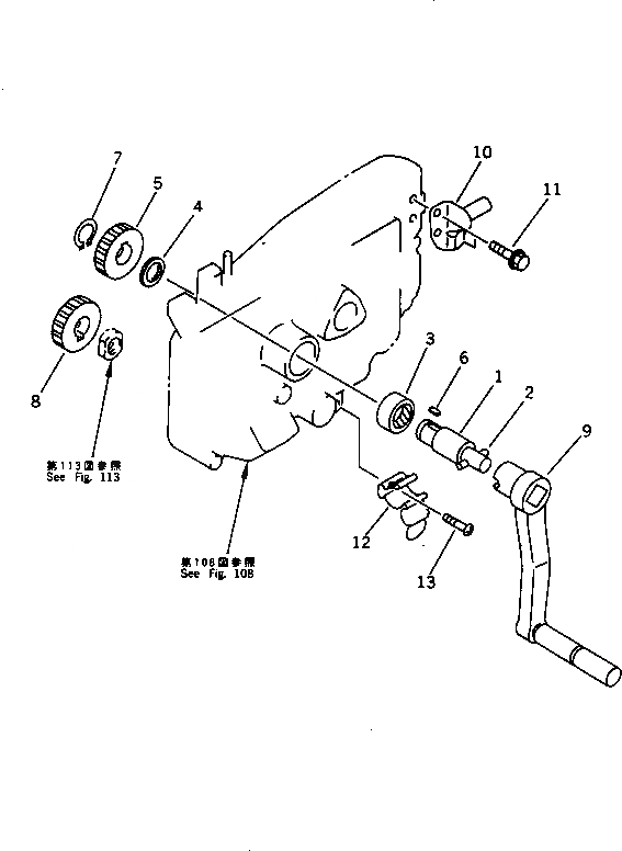
Запчасти Komatsu JV06H-2 РУКОЯТЬ РУЧНОГО ЗАПУСКА ДВИГАТЕЛЬ¤ КОМПОНЕНТЫ ДВИГАТЕЛЯ И ЭЛЕКТРИКА

Схема запчастей Komatsu JV06H-2 - РУКОЯТЬ РУЧНОГО ЗАПУСКА ДВИГАТЕЛЬ¤ КОМПОНЕНТЫ ДВИГАТЕЛЯ И ЭЛЕКТРИКА
FIT
1:1
100%

Артикул

Название

Примечание

Количество

1

YM705100-76900

SHAFT ASS'Y

SN: 2991-UP

1шт.

|1

YM705300-76900

SHAFT ASS'Y

SN: 2501-2990

1шт.

2

YM104200-75480

PIN

SN: 2501-2990

1шт.

3

YM105140-76500

SEAL

SN: 2501-UP

1шт.

4

YM105300-76470

COLLAR

SN: 2501-UP

1шт.

5

YM105300-76330

GEAR

SN: 2501-UP

1шт.

6

YM105300-76490

KEY

SN: 2501-UP

1шт.

7

YM22242-000200

RING

SN: 2501-UP

1шт.

8

YM105300-76330

GEAR

SN: 2501-UP

1шт.

9

YM105100-76790

HANDLE,STARTING

SN: 2991-UP

1шт.

|9

YM106500-76790

HANDLE,STARTING

SN: 2501-2990

1шт.

10

YM105298-08100

BRACKET

SN: 2991-UP

1шт.

|10

YM105198-08100

BRACKET

SN: 2501-2990

1шт.

11

YM26106-060122

BOLT

SN: 2501-UP

2шт.

12

YM105300-08510

CLAMP ASS'Y

SN: 2501-UP

1шт.

13

YM26557-060082

SCREW

SN: 2501-UP

1шт.

Выбрано товаров: 16