Запчасти Komatsu JV08H-3 ПРИВОД ВЕНТИЛЯТОРА ДВИГАТЕЛЬ¤ КОМПОНЕНТЫ ДВИГАТЕЛЯ И ЭЛЕКТРИКА

Схема запчастей Komatsu JV08H-3 - ПРИВОД ВЕНТИЛЯТОРА ДВИГАТЕЛЬ¤ КОМПОНЕНТЫ ДВИГАТЕЛЯ И ЭЛЕКТРИКА
FIT
1:1
100%

Артикул

Название

Примечание

Количество

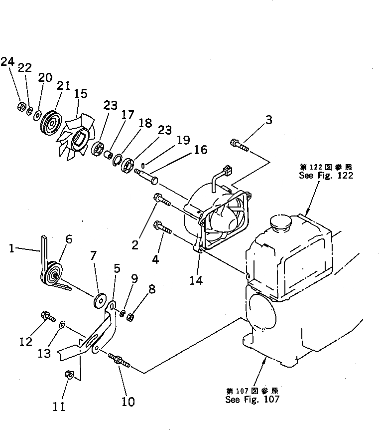
1

YM25117-003451

V-BELT

SN: 5001-UP

1шт.

2

YM26106-060252

BOLT

SN: 5001-UP

1шт.

3

YM26106-060302

BOLT

SN: 5001-UP

1шт.

4

YM26106-080352

BOLT

SN: 5001-UP

2шт.

|$4

YM105100-44810

PULLEY ASS'Y

SN: 5001-UP

1шт.

5

YM105100-44940

LEVER

SN: 5001-UP

1шт.

6

YM106100-44650

PULLEY,TENSION

SN: 5001-UP

1шт.

7

YM106100-44960

CAP

SN: 5001-UP

1шт.

8

YM26716-080002

NUT

SN: 5001-UP

1шт.

9

YM22217-080000

WASHER,SPRING

SN: 5001-UP

1шт.

10

YM105100-44930

STUD

SN: 5001-UP

1шт.

11

YM26366-060002

NUT

SN: 5001-UP

1шт.

12

YM26106-080202

BOLT

SN: 5001-UP

1шт.

13

YM22137-080000

WASHER

SN: 5001-UP

1шт.

|$14

YM105292-44200

CASE ASS'Y

SN: 5001-UP

1шт.

14

YM105292-44680

CASE

SN: 5001-UP

1шт.

15

YM105100-44850

FAN

SN: 5001-UP

1шт.

16

YM105340-44710

SHAFT

SN: 5001-UP

1шт.

17

YM106383-44720

SPACER

SN: 5001-UP

1шт.

18

YM106383-44740

RING,SNAP

SN: 5001-UP

1шт.

19

YM105340-44750

PIN

SN: 5001-UP

1шт.

20

YM105100-44780

SPACER

SN: 5001-UP

1шт.

21

YM105100-44770

PULLEY

SN: 5001-UP

1шт.

22

YM22217-120000

WASHER,SPRING

SN: 5001-UP

1шт.

23

YM24107-062013

BEARING

SN: 5001-UP

2шт.

24

YM26777-120002

NUT

SN: 5001-UP

1шт.

Выбрано товаров: 26