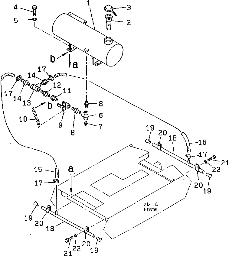
Запчасти Komatsu JV08HM-2 ВОДН. БАК СИСТЕМА РАЗБРЫЗГИВАНИЯ ВОДЫ И МАСЛ. БАК

Схема запчастей Komatsu JV08HM-2 - ВОДН. БАК СИСТЕМА РАЗБРЫЗГИВАНИЯ ВОДЫ И МАСЛ. БАК
FIT
1:1
100%

Артикул

Название

Примечание

Количество

1

2693-8-31105

TANK,WATER

SN: 1001-UP

1шт.

1

2693-8-31100

TANK,WATER

SN: 1000-1000

1шт.

2

258-20-17410

STRAINER

SN: 1001-UP

1шт.

3

267-20-25321

CAP

SN: 1001-UP

1шт.

4

01010-31025

BOLT

SN: 1001-UP

4шт.

5

01602-01030

WASHER,SPRING

SN: 1001-UP

4шт.

6

07324-00400

TEE

SN: 1001-UP

1шт.

7

07042-00415

PLUG

SN: 1001-UP

1шт.

8

266-06-08000

NIPPLE

SN: 1001-UP

2шт.

9

2692-8-32700

VALVE

SN: 1001-UP

1шт.

10

2692-3-34430

SPRING

SN: 1001-UP

1шт.

11

07326-00403

ADAPTER

SN: 1001-UP

1шт.

12

266-06-06000

NIPPLE

SN: 1001-UP

1шт.

13

07324-00300

TEE

SN: 1001-UP

1шт.

14

2691-8-15140

NIPPLE

SN: 1001-UP

2шт.

15

2692-8-32310

HOSE

SN: 1001-UP

1шт.

16

2692-8-32320

HOSE

SN: 1001-UP

1шт.

17

07280-02023

CLAMP

SN: 1001-UP

4шт.

18

2693-8-32100

PIPE

SN: 1001-UP

2шт.

19

2692-8-32410

CAP

SN: 1001-UP

4шт.

20

268-80-12211

CLIP

SN: 1001-UP

4шт.

21

01010-31025

BOLT

SN: 1001-UP

4шт.

22

01602-01030

WASHER,SPRING

SN: 1001-UP

4шт.

Выбрано товаров: 0