Запчасти Komatsu JV100A-1 СТАЛЬНАЯ КАБИНА (С КРЫША ДВЕРЬ ТИП) (/) (B-ТИП) (КРОМЕ ЯПОН.) РАМА И КУЗОВ

Схема запчастей Komatsu JV100A-1 - СТАЛЬНАЯ КАБИНА (С КРЫША ДВЕРЬ ТИП) (/) (B-ТИП) (КРОМЕ ЯПОН.) РАМА И КУЗОВ
FIT
1:1
100%

Артикул

Название

Примечание

Количество

|$0

273-950-0022

CAB ASS'Y

SN: 10302-UP

1шт.

|$1

273-950-0021

CAB ASS'Y

SN: 10235-10301

1шт.

|$2

273-950-0020

CAB ASS'Y

SN: 10011-10234

1шт.

|$$4

THESE ASSEMBLIES CONSIST OF ALL PARTS SHOWN IN FIGS.5481 TO 5491.

-1шт.

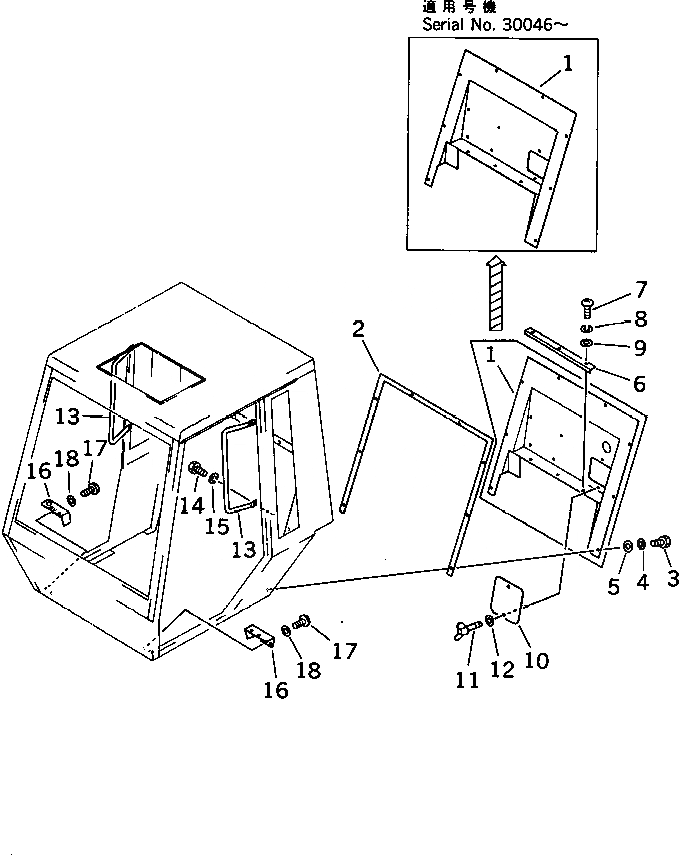
1

273-950-1211

COVER

SN: 10302-UP

1шт.

1

273-950-1210

COVER

SN: 10011-10301

1шт.

2

273-950-1220

PACKING

SN: 10011-UP

1шт.

3

01010-51020

BOLT

SN: 10011-UP

8шт.

4

01643-31032

WASHER

SN: 10011-UP

8шт.

5

01641-21016

WASHER

SN: 10011-UP

8шт.

6

273-950-1260

COVER

SN: 10011-UP

1шт.

7

01220-40510

SCREW

SN: 10011-UP

3шт.

8

01601-20513

WASHER,SPRING

SN: 10011-UP

3шт.

9

01641-20508

WASHER

SN: 10011-UP

3шт.

10

273-950-1230

COVER

SN: 10011-UP

1шт.

11

01434-00825

BOLT, WING,WING

SN: 10011-UP

2шт.

12

01641-20812

WASHER

SN: 10011-UP

2шт.

13

273-950-1440

HANDLE

SN: 10011-.

2шт.

14

01010-51020

BOLT

SN: 10011-.

4шт.

15

01602-21030

WASHER,SPRING

SN: 10011-.

4шт.

16

273-950-1240

COVER,L.H.

SN: 10011-UP

1шт.

16

273-950-1250

COVER,R.H.

SN: 10011-UP

1шт.

17

01370-00408

SCREW

SN: 10011-UP

8шт.

18

01641-20405

WASHER

SN: 10011-UP

8шт.

Выбрано товаров: 24