Запчасти Komatsu JV100A-1 ЭЛЕКТРИКА (ПРАВ.) (КРОМЕ ЯПОН.) КОМПОНЕНТЫ ДВИГАТЕЛЯ И ЭЛЕКТРИКА

Схема запчастей Komatsu JV100A-1 - ЭЛЕКТРИКА (ПРАВ.) (КРОМЕ ЯПОН.) КОМПОНЕНТЫ ДВИГАТЕЛЯ И ЭЛЕКТРИКА
FIT
1:1
100%

Артикул

Название

Примечание

Количество

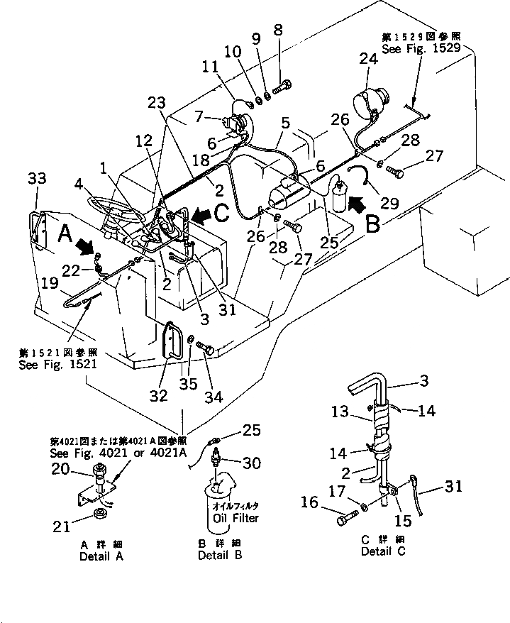
1

08028-12035

CABLE

SN: 10011-UP

1шт.

2

08028-12175

CABLE

SN: 10011-UP

1шт.

3

08028-12075

CABLE

SN: 10089-UP

1шт.

3

0

CABLE

SN: 10011-10088

1шт.

4

232-06-11970

CAP,TERMINAL

SN: 10011-UP

4шт.

5

08028-12035

CABLE

SN: 10011-UP

1шт.

6

08038-04030

CAP

SN: 10011-UP

3шт.

7

237-06-15250

RELAY,BATTERY

SN: 10011-UP

1шт.

8

01010-50830

BOLT

SN: 10011-UP

2шт.

9

01643-30823

WASHER

SN: 10011-UP

2шт.

10

01641-20812

WASHER

SN: 10011-UP

2шт.

11

273-06-11330

CABLE

SN: 10011-UP

1шт.

12

08037-03614

GROMMET

SN: 10011-UP

1шт.

13

273-60-14650

TUBE

SN: 10011-UP

1шт.

14

08034-00414

BAND

SN: 10011-UP

2шт.

15

08036-01414

CLIP

SN: 10011-UP

1шт.

16

01010-51016

BOLT

SN: 10011-UP

2шт.

17

01643-31032

WASHER

SN: 10011-UP

2шт.

18

08034-00414

BAND

SN: 10011-UP

1шт.

19

273-06-11120

HARNESS

SN: 10011-UP

1шт.

20

234-06-13370

SWITCH,VIBRATION

SN: 10011-UP

1шт.

21

01580-11610

NUT

SN: 10011-UP

1шт.

22

08037-02512

GROMMET

SN: 10011-UP

4шт.

23

273-06-11130

HARNESS

SN: 10011-UP

1шт.

24

08038-00519

CAP

SN: 10011-UP

2шт.

25

273-06-11370

HARNESS

SN: 10011-UP

1шт.

26

08036-11214

CLIP

SN: 10011-UP

2шт.

27

01010-51016

BOLT

SN: 10011-UP

2шт.

28

01602-21030

WASHER,SPRING

SN: 10011-UP

2шт.

29

08028-12035

CABLE

SN: 10011-UP

1шт.

30

08073-00505

SWITCH

SN: 10011-UP

1шт.

31

273-06-11570

CABLE

SN: 10011-UP

1шт.

32

273-06-13410

BRACKET,L.H. (WITHOUT CAB)

SN: 10011-UP

1шт.

33

273-06-13420

BRACKET,R.H. (WITHOUT CAB)

SN: 10011-UP

1шт.

34

01010-51230

BOLT,(WITHOUT CAB)

SN: 10011-UP

4шт.

35

01643-31232

WASHER,(WITHOUT CAB)

SN: 10011-UP

4шт.

Выбрано товаров: 36