Запчасти Komatsu JV100A-1 НАВЕС(№-.) РАМА И КУЗОВ

Схема запчастей Komatsu JV100A-1 - НАВЕС(№-.) РАМА И КУЗОВ
FIT
1:1
100%

Артикул

Название

Примечание

Количество

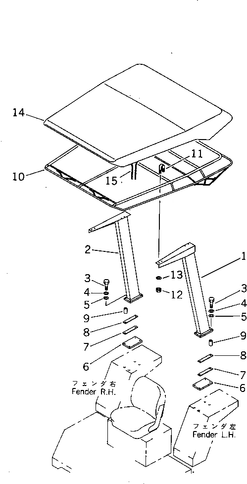
1

273-956-2131

POLE,L.H.

SN: 10011-@

1шт.

1

0

POLE,L.H.

SN: (10011-.)

1шт.

2

273-956-2121

POLE,R.H.

SN: 10011-@

1шт.

2

0

POLE,R.H.

SN: (10011-.)

1шт.

3

01010-51255

BOLT

SN: 10011-@

8шт.

3

0

BOLT

SN: (10011-.)

8шт.

4

01643-31232

WASHER

SN: 10011-@

8шт.

5

01643-31232

WASHER

SN: 10011-@

8шт.

6

273-956-2160

SEAT

SN: 10011-@

2шт.

7

273-956-2180

SEAT,RUBBER

SN: 10011-@

4шт.

8

273-956-2170

PLATE

SN: 10011-@

4шт.

9

273-956-2190

COLLAR

SN: 10011-@

8шт.

10

273-956-2110

ROOF

SN: 10011-@

1шт.

11

07283-22738

CLIP

SN: 10011-@

4шт.

12

01599-01011

NUT

SN: 10011-@

8шт.

13

01643-31032

WASHER

SN: 10011-@

8шт.

14

273-956-2140

SHEET

SN: 10011-@

1шт.

15

273-956-2150

ROPE

SN: 10011-@

1шт.

Выбрано товаров: 18