Запчасти Komatsu JV100A-1 МЕХ-М ОТБОРА МОЩНОСТИ (/)(№7-) КОМПОНЕНТЫ ДВИГАТЕЛЯ И ЭЛЕКТРИКА

Схема запчастей Komatsu JV100A-1 - МЕХ-М ОТБОРА МОЩНОСТИ (/)(№7-) КОМПОНЕНТЫ ДВИГАТЕЛЯ И ЭЛЕКТРИКА
FIT
1:1
100%

Артикул

Название

Примечание

Количество

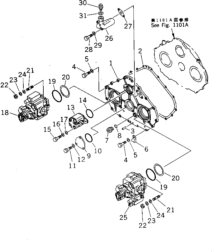
1

273-19-11161

COVER

SN: 10172-UP

1шт.

2

273-19-11171

GASKET (K1)

SN: 10449-UP

1шт.

2

0

GASKET (K1)

SN: 10011-10448

1шт.

3

04020-01434

PIN,DOWEL

SN: 10011-UP

2шт.

4

01010-51030

BOLT

SN: 10011-UP

16шт.

5

01643-31032

WASHER

SN: 10011-UP

16шт.

6

08036-10814

CLIP

SN: 10011-UP

1шт.

7

07044-12412

PLUG,DRAIN

SN: 10011-UP

1шт.

8

07002-12434

O-RING (K1)

SN: 10011-UP

1шт.

9

273-19-11181

COVER

SN: 10113-UP

1шт.

10

07000-12115

O-RING (K1)

SN: 10172-UP

1шт.

11

01010-51025

BOLT

SN: 10011-UP

3шт.

12

01643-31032

WASHER

SN: 10011-UP

3шт.

13

273-60-11130

PUMP ASS'Y,STEERING

SN: 10011-UP

1шт.

14

07000-12085

O-RING (K1)

SN: 10011-UP

1шт.

15

07372-21030

BOLT

SN: 10011-UP

2шт.

16

01643-31032

WASHER

SN: 10011-UP

2шт.

17

01643-31032

WASHER

SN: 10011-UP

2шт.

18

273-61-11122

TRAVEL PUMP ASS'Y

SN: 10125-UP

1шт.

19

07000-12130

O-RING (K1)

SN: 10011-UP

2шт.

20

273-19-11250

SPACER

SN: 10011-UP

2шт.

21

01124-31440

STUD

SN: 10011-UP

8шт.

22

01580-11411

NUT

SN: 10011-UP

8шт.

23

01643-31445

WASHER

SN: 10011-UP

8шт.

24

01643-31445

WASHER

SN: 10011-UP

8шт.

25

273-51-13120

PUMP ASS'Y,VIBRATION

SN: 10011-UP

1шт.

25

273-861-2100

PUMP ASS'Y (PV21),VIBRATION (HIGH)

SN: 10011-UP

1шт.

26

273-19-11310

TUBE

SN: 10011-UP

1шт.

27

238-12-12150

GASKET (K1)

SN: 10011-UP

1шт.

28

01010-51030

BOLT

SN: 10011-UP

2шт.

29

01643-31032

WASHER

SN: 10011-UP

2шт.

30

232-23-11220

BREATHER

SN: 10011-UP

1шт.

31

07003-03036

GASKET (K1)

SN: 10011-UP

1шт.

Выбрано товаров: 33