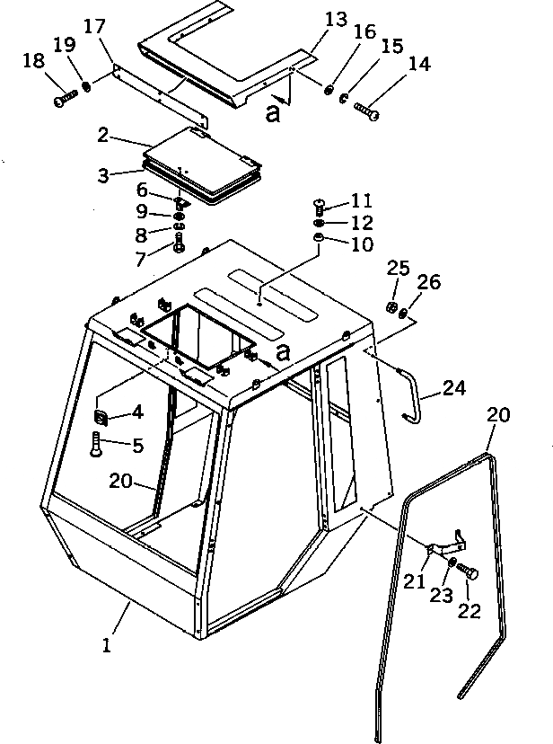
Запчасти Komatsu JV100A-1 СТАЛЬНАЯ КАБИНА (С КРЫША ДВЕРЬ ТИП) (/7) (A-ТИП) (КРОМЕ ЯПОН.) РАМА И КУЗОВ

Схема запчастей Komatsu JV100A-1 - СТАЛЬНАЯ КАБИНА (С КРЫША ДВЕРЬ ТИП) (/7) (A-ТИП) (КРОМЕ ЯПОН.) РАМА И КУЗОВ
FIT
1:1
100%

Артикул

Название

Примечание

Количество

|$0

273-950-0032

CAB ASS'Y

SN: 10302-UP

1шт.

|$1

273-950-0031

CAB ASS'Y

SN: 10235-10301

1шт.

|$2

273-950-0030

CAB ASS'Y

SN: 10011-10234

1шт.

|$$4

THESE ASSEMBLIES CONSIST OF ALL PARTS SHOWN IN FIGS.5461 TO 5473.

-1шт.

1

273-950-1101

CAB

SN: 10235-UP

1шт.

1

273-950-1100

CAB

SN: 10011-10234

1шт.

2

273-950-1160

DOOR

SN: 10011-UP

1шт.

3

273-950-1170

TRIM

SN: 10011-UP

1шт.

4

273-950-1910

CRESCENT

SN: 10011-UP

1шт.

5

01225-40510

SCREW

SN: 10011-UP

2шт.

6

273-950-1920

HOOK

SN: 10011-UP

1шт.

7

01220-40512

SCREW

SN: 10011-UP

2шт.

8

01601-20513

WASHER,SPRING

SN: 10011-UP

2шт.

9

01641-20508

WASHER

SN: 10011-UP

2шт.

10

203-54-11280

BOSS

SN: 10011-UP

1шт.

11

01220-40416

SCREW

SN: 10011-UP

1шт.

12

01641-20405

WASHER

SN: 10011-UP

1шт.

13

273-950-1181

COVER

SN: 10235-UP

1шт.

13

273-950-1180

COVER

SN: 10011-10234

1шт.

14

01220-40512

SCREW

SN: 10011-UP

10шт.

15

01601-20513

WASHER,SPRING

SN: 10011-UP

10шт.

16

01641-20508

WASHER

SN: 10011-UP

10шт.

17

273-950-2280

COVER

SN: 10235-UP

1шт.

17

20T-54-25290

COVER

SN: 10011-10234

1шт.

18

01370-00408

SCREW

SN: 10011-UP

6шт.

19

01641-20405

WASHER

SN: 10011-UP

6шт.

20

273-950-1380

TRIM

SN: 10011-UP

2шт.

21

273-950-1460

BRACKET

SN: 10011-UP

2шт.

22

01010-51020

BOLT

SN: 10011-UP

4шт.

23

01643-31032

WASHER

SN: 10011-UP

4шт.

24

273-950-1450

HANDLE

SN: 10011-UP

2шт.

25

01580-11008

NUT

SN: 10011-UP

4шт.

26

01643-31032

WASHER

SN: 10011-UP

4шт.

Выбрано товаров: 33