Запчасти Komatsu JV100A-1 КОРПУС ТРАНСМИССИИ ТРАНСМИССИЯ

Схема запчастей Komatsu JV100A-1 - КОРПУС ТРАНСМИССИИ ТРАНСМИССИЯ
FIT
1:1
100%

Артикул

Название

Примечание

Количество

|1

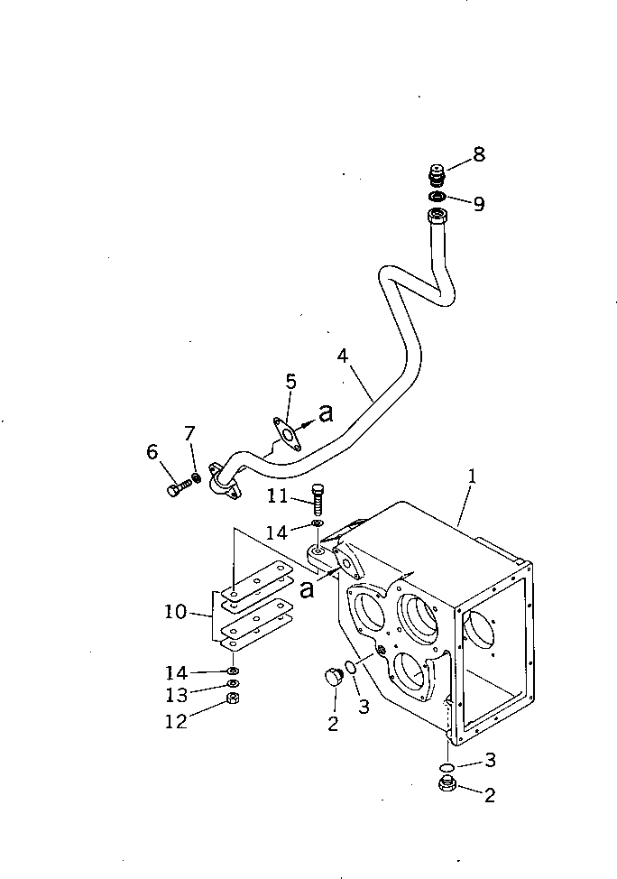
273-14-11000

TRANSMISSION ASS'Y

SN: 10011-UP

1шт.

|$$2

THIS ASSEMBLY CONSISTS OF ALL PARTS SHOWN IN FIGS.2401 TO 2407.

-1шт.

1

273-14-11610

CASE

SN: 10011-UP

1шт.

2

07044-12412

PLUG

SN: 10011-UP

2шт.

3

07002-12434

O-RING

SN: 10011-UP

2шт.

4

273-14-11160

TUBE

SN: 10011-UP

1шт.

5

238-12-12150

GASKET

SN: 10011-UP

1шт.

6

01010-51030

BOLT

SN: 10011-UP

2шт.

7

01643-31032

WASHER

SN: 10011-UP

2шт.

8

232-23-11220

BREATHER

SN: 10011-UP

1шт.

9

07005-03016

GASKET

SN: 10011-UP

1шт.

10

273-14-00010

SHIM ASS'Y

SN: 10011-UP

1шт.

|10

0

SHIM¤ 0.2MM

SN: 10011-UP

4шт.

|10

0

SHIM¤ 0.5MM

SN: 10011-UP

4шт.

11

01010-51265

BOLT

SN: 10029-UP

3шт.

|11

01010-51250

BOLT

SN: 10011-10028

3шт.

12

01580-11210

NUT

SN: 10011-UP

3шт.

13

01643-31232

WASHER

SN: 10011-UP

3шт.

14

01643-31232

WASHER

SN: 10011-UP

6шт.

Выбрано товаров: 0