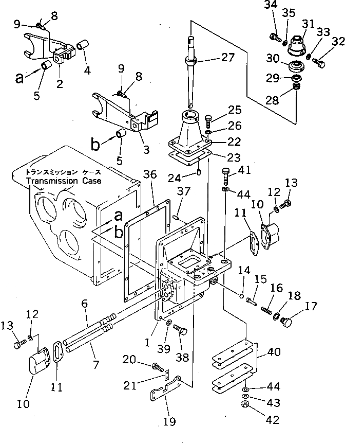
Запчасти Komatsu JV100A-1 ПЕРЕКЛЮЧ-Е ПЕРЕДАЧ ВИЛЫ ТРАНСМИССИЯ

Схема запчастей Komatsu JV100A-1 - ПЕРЕКЛЮЧ-Е ПЕРЕДАЧ ВИЛЫ ТРАНСМИССИЯ
FIT
1:1
100%

Артикул

Название

Примечание

Количество

|1

273-14-11000

TRANSMISSION ASS'Y

SN: 10011-UP

1шт.

|$$2

THIS ASSEMBLY CONSISTS OF ALL PARTS SHOWN IN FIGS.2401 TO 2407.

-1шт.

1

273-14-11120

CASE

SN: 10011-UP

1шт.

2

273-14-11530

FORK

SN: 10011-UP

1шт.

3

273-14-11540

FORK

SN: 10011-UP

1шт.

4

273-14-11570

COLLAR

SN: 10011-UP

1шт.

5

273-14-11560

COLLAR

SN: 10011-UP

2шт.

6

273-14-11520

SHAFT

SN: 10011-UP

1шт.

7

273-14-11510

SHAFT

SN: 10011-UP

1шт.

8

232-14-17451

BOLT

SN: 10011-UP

2шт.

9

04059-01025

WIRE

SN: 10011-UP

2шт.

10

232-14-17140

COVER

SN: 10011-UP

2шт.

11

232-14-17150

GASKET

SN: 10011-UP

2шт.

12

01602-20825

WASHER,SPRING

SN: 10011-UP

6шт.

13

01010-50825

BOLT

SN: 10011-UP

6шт.

14

04260-01587

BALL

SN: 10011-UP

2шт.

15

232-14-17490

GUIDE

SN: 10011-UP

2шт.

16

273-14-11581

SPRING

SN: 10430-UP

2шт.

|16

273-14-11580

SPRING

SN: 10011-10429

2шт.

17

273-14-11590

PLUG

SN: 10430-UP

2шт.

|17

232-14-17373

PLUG

SN: 10011-10429

2шт.

18

07003-12026

GASKET

SN: 10011-UP

2шт.

19

273-14-11550

GUIDE

SN: 10011-UP

1шт.

20

01010-51025

BOLT

SN: 10011-UP

4шт.

21

232-14-13190

LOCK

SN: 10011-UP

2шт.

22

273-14-11170

BRACKET

SN: 10011-UP

1шт.

23

273-14-11181

GASKET

SN: 10449-UP

1шт.

|23

0

GASKET

SN: 10011-10448

1шт.

24

04020-01228

PIN,DOWEL

SN: 10011-UP

2шт.

25

01010-51030

BOLT

SN: 10011-UP

4шт.

26

01643-31032

WASHER

SN: 10011-UP

4шт.

27

273-14-11250

LEVER

SN: 10011-UP

1шт.

28

232-14-17640

SPRING

SN: 10011-UP

1шт.

29

238-14-15180

CAP

SN: 10011-UP

1шт.

30

232-14-17660

COVER

SN: 10011-UP

1шт.

31

232-14-17810

BOOT

SN: 10011-UP

1шт.

32

232-14-17672

BOLT

SN: 10011-UP

1шт.

33

01643-31032

WASHER

SN: 10011-UP

1шт.

34

01010-50812

BOLT

SN: 10011-UP

1шт.

35

01643-20823

WASHER

SN: 10011-UP

1шт.

36

273-14-11131

GASKET

SN: 10449-UP

1шт.

|36

0

GASKET

SN: 10011-10448

1шт.

37

04020-01228

PIN,DOWEL

SN: 10011-UP

2шт.

38

01010-51235

BOLT

SN: 10011-UP

10шт.

39

01643-31232

WASHER

SN: 10011-UP

10шт.

40

273-14-00010

SHIM ASS'Y

SN: 10011-UP

1шт.

|40

0

SHIM¤ 0.2MM

SN: 10011-UP

4шт.

|40

0

SHIM¤ 0.5MM

SN: 10011-UP

4шт.

41

01010-51265

BOLT

SN: 10011-UP

3шт.

42

01580-11210

NUT

SN: 10011-UP

3шт.

43

01643-31232

WASHER

SN: 10011-UP

3шт.

44

01643-31232

WASHER

SN: 10011-UP

6шт.

Выбрано товаров: 52