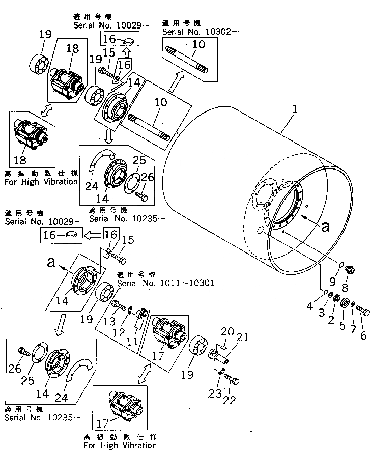
Запчасти Komatsu JV100A-1 РОЛИК (ПЕРЕДН.) (/) КОЛЕСА И ТОРМОЗ.

Схема запчастей Komatsu JV100A-1 - РОЛИК (ПЕРЕДН.) (/) КОЛЕСА И ТОРМОЗ.
FIT
1:1
100%

Артикул

Название

Примечание

Количество

|1

273-70-12000

ROLLER ASS'Y

SN: 10011-UP

1шт.

|$$2

THIS ASSEMBLY CONSISTS OF ALL PARTS SHOWN IN FIGS.3001 AND 3003.

-1шт.

1

273-70-11742

ROLLER

SN: 10302-UP

1шт.

|1

273-70-11741

ROLLER

SN: 10011-10301

1шт.

2

07715-11257

RING

SN: 10011-UP

1шт.

3

07715-00651

COVER

SN: 10011-UP

1шт.

4

10E-60-12150

PLATE

SN: 10011-UP

1шт.

5

273-70-11620

FLANGE

SN: 10011-UP

1шт.

6

01010-50616

BOLT

SN: 10011-UP

4шт.

7

01643-30623

WASHER

SN: 10011-UP

4шт.

8

07044-12412

PLUG

SN: 10011-UP

4шт.

9

07002-12434

O-RING

SN: 10011-UP

4шт.

10

273-70-51120

SHAFT

SN: 10302-UP

1шт.

|10

273-70-12130

SHAFT

SN: 10011-10301

1шт.

11

273-70-12140

FLANGE

SN: 10011-10301

2шт.

12

273-70-11460

WASHER

SN: 10011-10301

2шт.

13

07372-01050

BOLT

SN: 10011-10301

4шт.

14

273-70-11311

HOUSING

SN: 10235-UP

2шт.

|14

273-70-11310

HOUSING

SN: 10011-10234

2шт.

15

01010-51235

BOLT

SN: 10011-UP

12шт.

16

273-70-12370

LOCK

SN: 10029-UP

6шт.

|16

01650-21212

WASHER

SN: 10011-10028

12шт.

17

273-70-51300

WEIGHT,L.H.

SN: 10305-UP

1шт.

|17

273-70-12401

WEIGHT,L.H.

SN: 10235-10304

1шт.

|17

273-70-12400

WEIGHT,L.H.

SN: 10011-10234

1шт.

|17

273-861-3200

WEIGHT,L.H. (FOR HIGH VIBRATION)

SN: 10011-UP

1шт.

18

273-70-12501

WEIGHT,R.H.

SN: 10235-UP

1шт.

|18

273-70-12500

WEIGHT,R.H.

SN: 10011-10234

1шт.

|18

273-861-3100

WEIGHT,R.H. (FOR HIGH VIBRATION)

SN: 10011-UP

1шт.

19

273-70-11340

BEARING

SN: 10011-UP

4шт.

20

04020-01024

PIN,DOWEL

SN: 10011-UP

1шт.

21

273-70-11470

SHAFT

SN: 10011-UP

1шт.

22

01010-51030

BOLT

SN: 10011-UP

4шт.

23

273-70-11460

WASHER

SN: 10011-UP

2шт.

24

273-70-11910

PLATE

SN: 10235-UP

2шт.

25

273-70-11920

PLATE

SN: 10235-UP

2шт.

26

01010-51610

BOLT

SN: 10235-UP

8шт.

Выбрано товаров: 0