Запчасти Komatsu JV100A-1 СТАЛЬНАЯ КАБИНА (С КРЫША ДВЕРЬ ТИП) (/) (ДЛЯ ЯПОН.) РАМА И КУЗОВ

Схема запчастей Komatsu JV100A-1 - СТАЛЬНАЯ КАБИНА (С КРЫША ДВЕРЬ ТИП) (/) (ДЛЯ ЯПОН.) РАМА И КУЗОВ
FIT
1:1
100%

Артикул

Название

Примечание

Количество

|1

273-950-0012

OPERATOR'S CAB ASS'Y

SN: 10302-UP

1шт.

|1

273-950-0011

OPERATOR'S CAB ASS'Y

SN: 10235-10301

1шт.

|1

273-950-0010

OPERATOR'S CAB ASS'Y

SN: 10011-10234

1шт.

|$$4

THESE ASSEMBLIES CONSIST OF ALL PARTS SHOWN IN FIGS.5441 TO 5459.

-1шт.

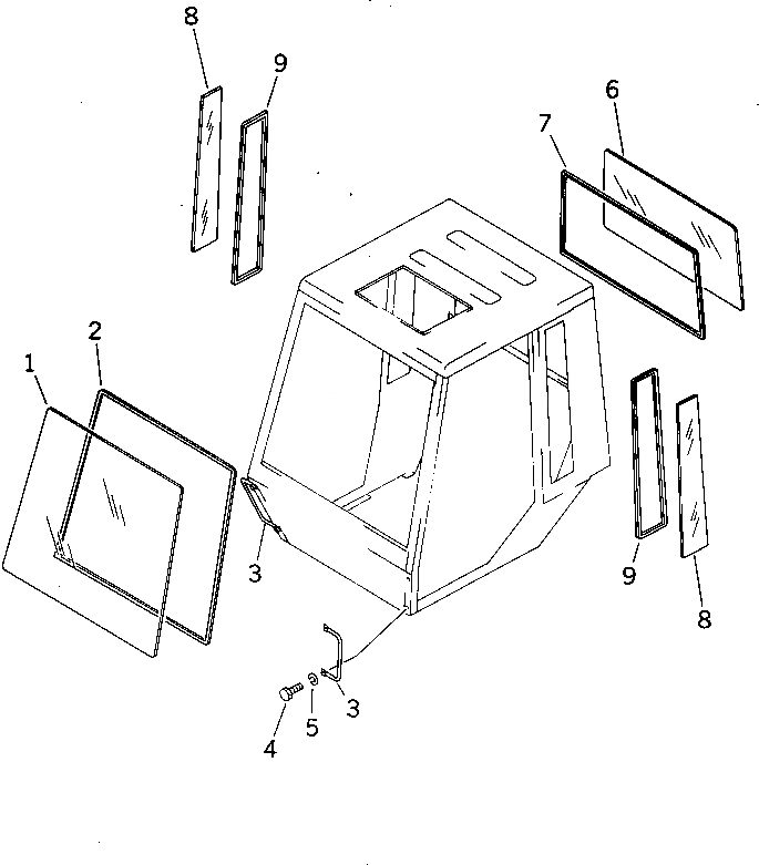
1

273-950-1310

GLASS

SN: 10011-UP

1шт.

2

273-950-1350

WEATHER STRIP

SN: 10011-UP

1шт.

3

273-950-1430

HANDLE

SN: 10011-.

2шт.

4

01010-51020

BOLT

SN: 10011-.

4шт.

5

01602-21030

WASHER,SPRING

SN: 10011-.

4шт.

6

273-950-1320

GLASS

SN: 10011-UP

1шт.

7

273-950-1360

WEATHER STRIP

SN: 10011-UP

1шт.

8

273-950-1330

GLASS,L.H.

SN: 10011-UP

1шт.

|8

273-950-1340

GLASS,R.H.

SN: 10011-UP

1шт.

9

273-950-1370

WEATHER STRIP

SN: 10011-UP

2шт.

Выбрано товаров: 14