Запчасти Komatsu JV100A-1 СТАЛЬНАЯ КАБИНА (С КРЫША ДВЕРЬ ТИП) (9/) (ДЛЯ ЯПОН.) РАМА И КУЗОВ

Схема запчастей Komatsu JV100A-1 - СТАЛЬНАЯ КАБИНА (С КРЫША ДВЕРЬ ТИП) (9/) (ДЛЯ ЯПОН.) РАМА И КУЗОВ
FIT
1:1
100%

Артикул

Название

Примечание

Количество

|1

273-950-0012

OPERATOR'S CAB ASS'Y

SN: 10302-UP

1шт.

|1

273-950-0011

OPERATOR'S CAB ASS'Y

SN: 10235-10301

1шт.

|1

273-950-0010

OPERATOR'S CAB ASS'Y

SN: 10011-10234

1шт.

|$$4

THESE ASSEMBLIES CONSIST OF ALL PARTS SHOWN IN FIGS.5441 TO 5459.

-1шт.

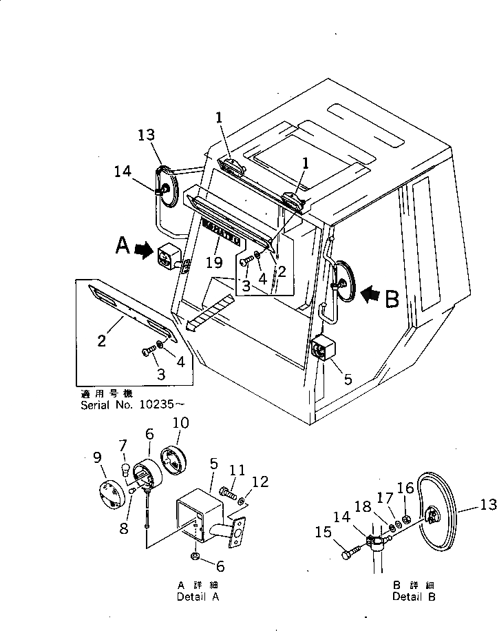
1

23D-06-13350

LAMP ASS'Y,WORK

SN: ..-UP

2шт.

|1

22W-06-12381

LAMP ASS'Y,WORK

SN: .-..

2шт.

|1

273-950-2210

LAMP ASS'Y,HEAD

SN: 10011-.

2шт.

|1

273-950-2220

LENS

SN: 10011-UP

1шт.

|1

22W-06-12170

BULB¤ 24V

SN: .-UP

1шт.

|1

08103-02460

BULB¤ 35W

SN: 10011-.

1шт.

2

273-950-2231

COVER

SN: 10235-UP

1шт.

|2

273-950-2230

COVER

SN: 10011-10234

1шт.

3

01370-00408

SCREW

SN: 10011-UP

6шт.

4

01641-20405

WASHER

SN: 10011-UP

6шт.

|5

273-950-4100

LAMP ASS'Y,COMBINATION

SN: 10011-UP

1шт.

5

273-950-2330

BRACKET,L.H.

SN: 10011-UP

1шт.

|5

273-950-2340

BRACKET,R.H.

SN: 10011-UP

1шт.

6

273-06-12610

LAMP ASS'Y

SN: 10011-UP

2шт.

7

08105-02420

BULB¤ 25W

SN: 10011-UP

1шт.

8

08136-02405

BULB¤ 5W

SN: 10011-UP

1шт.

9

08136-00006

LENS,FRONT

SN: 10011-UP

1шт.

10

08136-00003

LENS,REAR

SN: 10011-UP

1шт.

11

01010-51020

BOLT

SN: 10011-UP

4шт.

12

01643-31032

WASHER

SN: 10011-UP

4шт.

|13

273-950-7100

MIRROR ASS'Y,REAR VIEW

SN: 10011-UP

1шт.

13

08174-10001

MIRROR

SN: 10011-UP

2шт.

14

232-06-15151

PIVOT

SN: 10011-UP

2шт.

15

01010-50820

BOLT

SN: 10011-UP

2шт.

16

01580-10806

NUT

SN: 10011-UP

2шт.

17

01643-30823

WASHER

SN: 10011-UP

2шт.

18

01643-30823

WASHER

SN: 10011-UP

2шт.

19

09690-10355

PLATE¤ MARK,KOMATSU

SN: 10011-UP

1шт.

Выбрано товаров: 0