Запчасти Komatsu JV100A-2T ПАНЕЛЬ ПРИБОРОВ КОМПОНЕНТЫ ДВИГАТЕЛЯ И ЭЛЕКТРИКА

Схема запчастей Komatsu JV100A-2T - ПАНЕЛЬ ПРИБОРОВ КОМПОНЕНТЫ ДВИГАТЕЛЯ И ЭЛЕКТРИКА
1
2
3
4
5
6
7
8
9
10
11
12
13
14
15
FIT
1:1
100%

Артикул

Название

Примечание

Количество

1

201-06-63120

WIRE ASS'Y,(SEE FIG.1505)

SN: 1001-UP

1шт.

2

08160-52400

HORN

SN: 1001-UP

1шт.

3

01010-50816

BOLT

SN: 1001-UP

2шт.

4

01602-20825

WASHER,SPRING

SN: 1001-UP

2шт.

|$4

203-06-56140

LAMP ASS'Y

SN: 1001-UP

1шт.

5

0

HOUSING

SN: 1001-UP

1шт.

6

22W-06-12170

BULB

SN: 1001-UP

1шт.

7

203-06-56180

RING

SN: 1001-UP

1шт.

8

22W-06-12290

CUSHION

SN: 1001-UP

1шт.

9

203-06-56190

RING

SN: 1001-UP

1шт.

10

01582-11411

NUT

SN: 1001-UP

1шт.

11

01643-31445

WASHER

SN: 1001-UP

1шт.

12

7861-92-4800

SENSOR,FUEL LEVEL(SEE FIG.1301OR6001)

SN: 1001-UP

1шт.

13

201-06-62310

COVER

SN: 1001-UP

1шт.

13

201-973-6260

COVER,(FOR ATTACHMENT)

SN: 1001-UP

1шт.

14

01010-51065

BOLT

SN: 1001-UP

2шт.

14

01010-51016

BOLT,(FOR ATTACHMENT)

SN: 1001-UP

2шт.

15

01643-31032

WASHER

SN: 1001-UP

2шт.

16

08036-01414

CLIP

SN: 1001-UP

1шт.

17

08036-02514

CLIP

SN: 1001-UP

1шт.

18

01010-51016

BOLT

SN: 1001-UP

2шт.

19

01643-31032

WASHER

SN: 1001-UP

2шт.

20

150-95-27160

GROMMET

SN: 1001-UP

2шт.

21

201-06-61221

GROMMET

SN: 1128-UP

2шт.

21

201-06-61220

GROMMET

SN: 1001-1127

2шт.

22

20X-06-21170

WIRE

SN: 1001-UP

1шт.

23

01010-51016

BOLT

SN: 1001-UP

2шт.

24

01643-31032

WASHER

SN: 1001-UP

2шт.

25

201-06-63140

WIRE

SN: 1001-UP

1шт.

26

08037-02512

GROMMET

SN: 1001-UP

1шт.

27

201-973-6250

PLATE,(FOR ATTACHMENT)

SN: 1001-UP

1шт.

28

01010-51020

BOLT,(FOR ATTACHMENT)

SN: 1001-UP

1шт.

29

01643-31032

WASHER,(FOR ATTACHMENT)

SN: 1001-UP

1шт.

30

08053-01512

CLIP,(FOR ATTACHMENT)

SN: 1090-UP

1шт.

30

0

BRACKET,(FOR ATTACHMENT)

SN: 1001-1089

1шт.

31

01010-51020

BOLT,(FOR ATTACHMENT)

SN: 1001-UP

1шт.

32

01643-31032

WASHER,(FOR ATTACHMENT)

SN: 1001-UP

1шт.

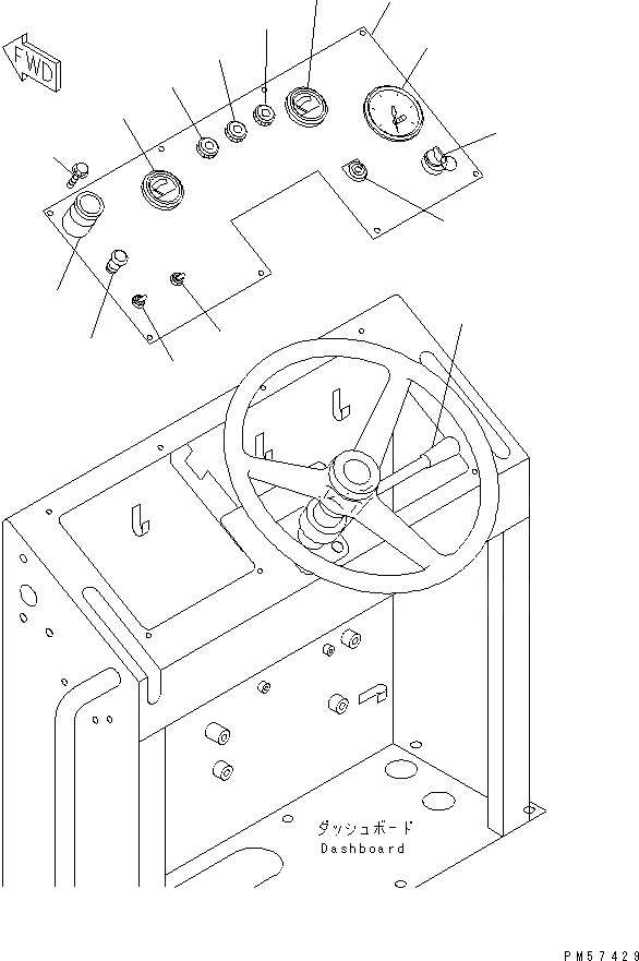
1

273-06-64210

PANEL,INSTRUMENT

SN: 1001-UP

1шт.

2

01435-00616

BOLT

SN: 1001-UP

8шт.

3

08086-20000

SWITCH,STARTER

SN: 1001-UP

1шт.

4

273-06-63210

TACHOMETER

SN: 1001-UP

1шт.

5

600-815-2371

SIGNAL,HEATER

SN: 1001-UP

1шт.

6

232-06-52360

GAUGE,FUEL

SN: 1001-UP

1шт.

7

08147-524F3

LAMP,CHARGE

SN: 1001-UP

1шт.

8

08147-52430

LAMP,PARKING BRAKE

SN: 1001-UP

1шт.

9

08147-524A1

LAMP,OIL PRESSURE

SN: 1001-UP

1шт.

10

232-06-52340

GAUGE,WATER TEMPERATURE

SN: 1001-UP

1шт.

11

08144-12400

LAMP,PANEL

SN: 1001-UP

1шт.

12

08061-50011

SWITCH,HEAD LAMP

SN: 1001-UP

1шт.

13

26A-06-11550

SWITCH,VIBRATION

SN: 1001-UP

1шт.

14

26A-06-11550

SWITCH,TRAVEL

SN: 1001-UP

1шт.

15

23A-06-12650

SWITCH,TURN SIGNAL

SN: 1001-UP

1шт.

Выбрано товаров: 52