Запчасти Komatsu JV100A-2T ЭЛЕКТРИКА (ПЕРЕДН. ОСВЕЩЕНИЕ И ЗЕРКАЛО) КОМПОНЕНТЫ ДВИГАТЕЛЯ И ЭЛЕКТРИКА

Схема запчастей Komatsu JV100A-2T - ЭЛЕКТРИКА (ПЕРЕДН. ОСВЕЩЕНИЕ И ЗЕРКАЛО) КОМПОНЕНТЫ ДВИГАТЕЛЯ И ЭЛЕКТРИКА
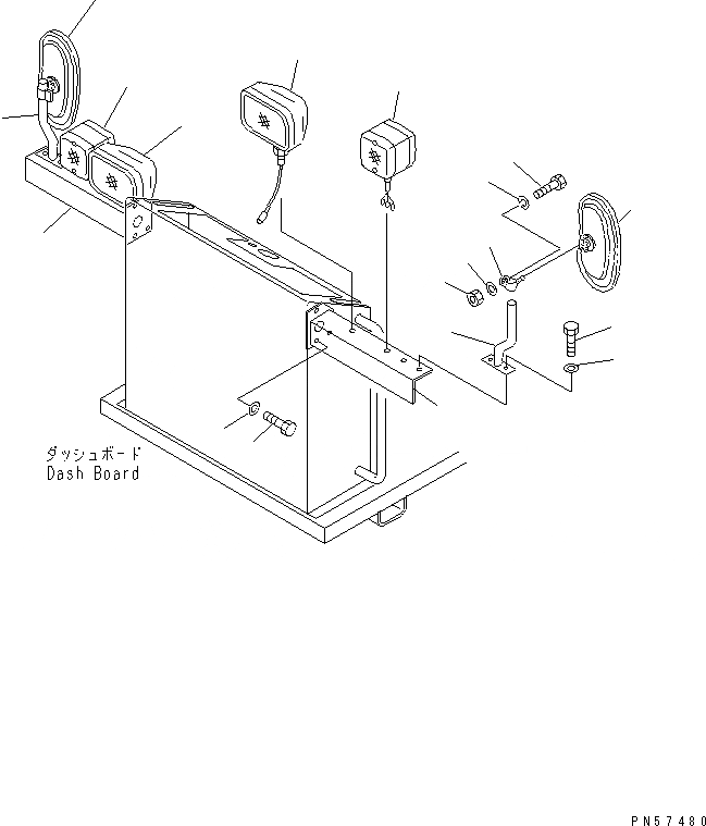
1
2
3
4
5
5
6
6
7
7
8
8
9
10
11
12
13
14
15
FIT
1:1
100%

Артикул

Название

Примечание

Количество

1

01220-70620

SCREW

SN: 1001-UP

4шт.

2

01642-40608

WASHER

SN: 1001-UP

4шт.

3

7824-22-3001

BOX,CONTROL

SN: 1271-UP

1шт.

3

0

BOX,CONTROL

SN: 1001-1270

1шт.

4

01010-51020

BOLT

SN: 1001-UP

4шт.

5

01643-31032

WASHER

SN: 1001-UP

4шт.

6

7824-32-1100

CONTROL BOX ASS'Y

SN: 1001-UP

1шт.

7

01010-51020

BOLT

SN: 1001-UP

4шт.

8

01643-31032

WASHER

SN: 1001-UP

4шт.

1

273-54-69360

BRACKET,L.H.

SN: 1001-UP

1шт.

2

273-54-69370

BRACKET,R.H.

SN: 1001-UP

1шт.

3

01010-81025

BOLT

SN: 1271-UP

6шт.

4

01643-31032

WASHER

SN: 1001-1270

6шт.

5

23B-06-22211

LAMP ASS'Y,HEAD

SN: 1001-UP

2шт.

5

23B-06-12241

LENS

SN: 1001-UP

1шт.

5

08119-02460

BULB, 60W

SN: 1001-UP

1шт.

6

41G-06-13201

LAMP ASS'Y,COMBINATION, REAR

SN: 1001-UP

2шт.

6

41G-06-13230

BULB, 5W

SN: 1001-UP

1шт.

6

08105-12420

BULB, 25W

SN: 11001-UP

1шт.

6

41G-06-13210

LENS,FRONT

SN: 11001-UP

1шт.

6

41G-06-13220

LENS,REAR

SN: 11001-UP

1шт.

6

01220-40425

SCREW

SN: 11001-UP

4шт.

7

08174-10001

MIRROR

SN: 11001-UP

2шт.

8

273-06-13140

BRACKET

SN: 11001-UP

2шт.

9

01010-81025

BOLT

SN: 11001-UP

4шт.

10

01643-31032

WASHER

SN: 11001-UP

4шт.

11

232-06-15151

PIVOT

SN: 11001-UP

2шт.

12

01010-80820

BOLT

SN: 11001-UP

2шт.

13

01580-10806

NUT

SN: 11001-UP

2шт.

14

01643-50823

WASHER

SN: 11001-UP

2шт.

15

01602-20825

WASHER,SPRING

SN: 11001-UP

2шт.

Выбрано товаров: 31