Запчасти Komatsu JV100WA-1 ГИДР. БАК.(№-8) ГИДРАВЛИКА

Схема запчастей Komatsu JV100WA-1 - ГИДР. БАК.(№-8) ГИДРАВЛИКА
FIT
1:1
100%

Артикул

Название

Примечание

Количество

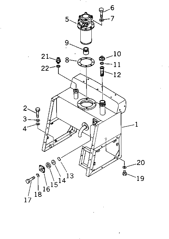
1

273-54-12511

TANK,HYDRAULIC

SN: 20003-20082

1шт.

2

01010-51225

BOLT

SN: 20003-@

4шт.

3

01643-31232

WASHER

SN: 20003-@

4шт.

4

01643-31232

WASHER

SN: 20003-@

4шт.

5

273-60-13230

FILTER ASS'Y,SUCTION

SN: 20003-@

1шт.

6

01010-51030

BOLT

SN: 20003-@

4шт.

7

01643-31032

WASHER

SN: 20003-@

4шт.

8

273-60-13250

GASKET

SN: 20003-@

1шт.

9

273-60-13240

NIPPLE

SN: 20003-@

1шт.

10

07051-20000

CAP

SN: 20003-@

1шт.

11

07051-20003

GASKET

SN: 20003-@

1шт.

12

07056-10045

STRAINER

SN: 20003-@

1шт.

13

10E-60-12150

PLATE

SN: 20003-20082

1шт.

14

07715-00651

COVER

SN: 20003-20082

1шт.

15

07715-11257

RING

SN: 20003-20082

1шт.

16

10E-60-12160

COVER

SN: 20003-20082

1шт.

17

01010-50820

BOLT

SN: 20003-20082

4шт.

18

01602-20825

WASHER,SPRING

SN: 20003-20082

4шт.

19

01050-51620

BOLT

SN: 20003-@

1шт.

20

07005-01612

GASKET

SN: 20003-@

1шт.

21

232-23-11220

BREATHER

SN: 20003-@

1шт.

22

07003-03036

GASKET

SN: 20003-@

1шт.

Выбрано товаров: 22