Запчасти Komatsu JV100WA-1 ГИДР. БАК.(№8-) ГИДРАВЛИКА

Схема запчастей Komatsu JV100WA-1 - ГИДР. БАК.(№8-) ГИДРАВЛИКА
FIT
1:1
100%

Артикул

Название

Примечание

Количество

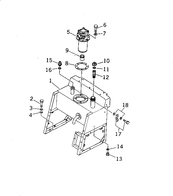
1

273-54-12512

TANK,HYDRAULIC

SN: 20083-UP

1шт.

2

01010-51225

BOLT

SN: 20003-UP

4шт.

3

01643-31232

WASHER

SN: 20003-UP

4шт.

4

01643-31232

WASHER

SN: 20003-UP

4шт.

5

273-60-13230

FILTER ASS'Y,SUCTION

SN: 20003-UP

1шт.

6

01010-51030

BOLT

SN: 20003-UP

4шт.

7

01643-31032

WASHER

SN: 20003-UP

4шт.

8

273-60-13250

GASKET

SN: 20003-UP

1шт.

9

273-60-13240

NIPPLE

SN: 20003-UP

1шт.

10

07051-20000

CAP

SN: 20003-UP

1шт.

11

07051-20003

GASKET

SN: 20003-UP

1шт.

12

07056-10045

STRAINER

SN: 20003-UP

1шт.

13

01050-51620

BOLT

SN: 20003-UP

1шт.

14

07005-01612

GASKET

SN: 20003-UP

1шт.

15

232-23-11220

BREATHER

SN: 20003-UP

1шт.

16

07003-03036

GASKET

SN: 20003-UP

1шт.

17

23A-60-13500

GAUGE

SN: 20083-UP

1шт.

18

07005-01012

GASKET

SN: 20083-UP

4шт.

Выбрано товаров: 18