Запчасти Komatsu JV100WA-1 МАРКИРОВКА (АНГЛ.)(№-8) ИНСТРУМЕНТ

Схема запчастей Komatsu JV100WA-1 - МАРКИРОВКА (АНГЛ.)(№-8) ИНСТРУМЕНТ
FIT
1:1
100%

Артикул

Название

Примечание

Количество

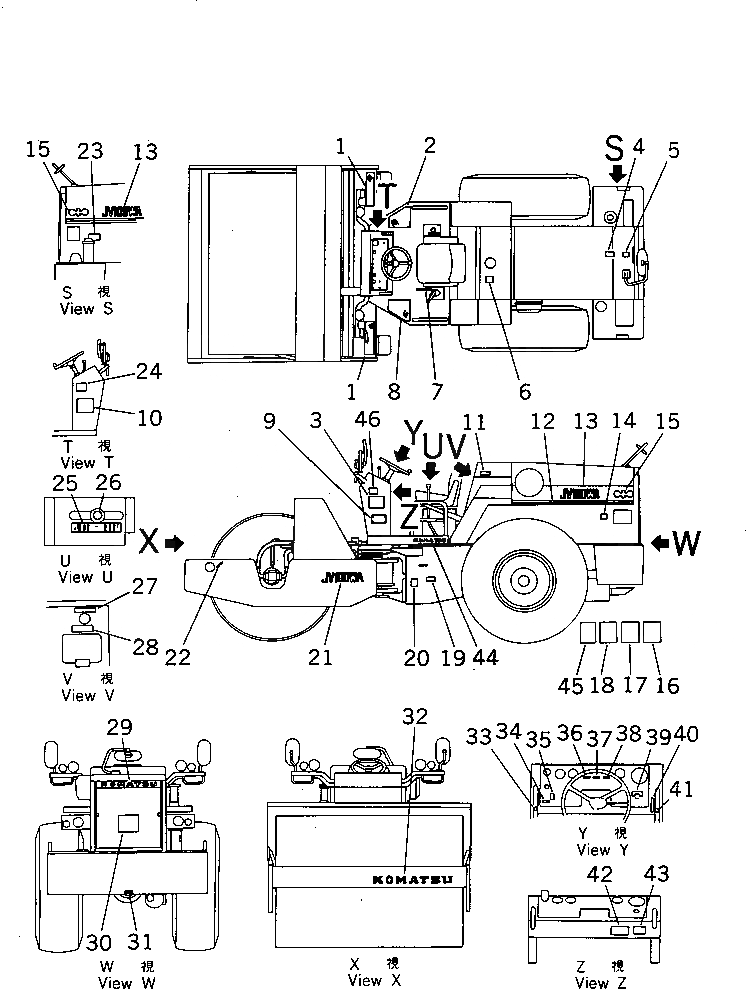
1

273-53-11270

SHEET

SN: 20003-20082

2шт.

2

273-53-11290

SHEET

SN: 20003-20082

1шт.

3

273-53-22140

PLATE,OIL CHART

SN: 20003-@

1шт.

4

09650-00100

PLATE, INSTRUCTION,RADIATOR

SN: 20003-@

1шт.

5

09668-10000

PLATE, SAFETY,RADIATOR

SN: 20003-@

1шт.

6

09653-10000

PLATE, SAFETY,HYDRAULIC OIL TANK

SN: 20003-@

1шт.

7

273-53-11110

PLATE, OPERATING

SN: 20003-@

1шт.

8

273-53-11280

SHEET

SN: 20003-20082

1шт.

9

09602-01643

PLATE, NAME

SN: 20003-@

1шт.

9

01220-60403

SCREW

SN: 20003-@

4шт.

9

01601-20410

WASHER,SPRING

SN: 20003-@

4шт.

10

273-53-11420

PLATE, CAUTION

SN: 20003-@

1шт.

11

273-53-11350

PLATE

SN: 20003-@

1шт.

12

273-53-11380

TAPE

SN: 20003-@

1шт.

13

273-53-21120

PLATE, MARK,JV100WA

SN: 20003-@

2шт.

14

09667-10000

PLATE, SAFETY,ENGINE COVER

SN: 20003-@

1шт.

15

09694-10200

PLATE, MARK

SN: 20003-@

2шт.

16

273-53-12140

TABLE,ACCESSORY

SN: 20003-.

1шт.

17

273-53-12120

TABLE,TOOL

SN: 20003-.

1шт.

18

273-53-12130

TABLE,SPARE PARTS

SN: 20003-.

1шт.

19

09162-10000

PLATE, SAFETY,OFFLIMIT WITH OPERATING AREA

SN: 20003-@

2шт.

20

09161-10000

PLATE, SAFETY,ARTICULATE LOCK

SN: 20003-@

1шт.

21

273-53-21110

PLATE, MARK,JV100WA

SN: 20003-20082

2шт.

22

09960-11084

PLATE, MARK,HANDLING

SN: 20003-@

4шт.

23

09101-10000

PLATE, CAUTION,RECOMMENDED FUEL OIL

SN: 20003-@

1шт.

24

273-53-11170

PLATE

SN: 20003-@

1шт.

25

273-53-11260

PLATE

SN: 20003-@

1шт.

26

273-53-11180

PLATE

SN: 20003-@

1шт.

27

273-53-11360

PLATE,HYDRAULIC OIL LEVEL

SN: 20003-@

1шт.

28

273-53-11340

PLATE

SN: 20003-@

1шт.

29

09690-10630

PLATE, MARK,KOMATSU

SN: 20003-@

1шт.

30

273-53-12160

PLATE

SN: 20003-@

1шт.

31

09652-00101

PLATE, CAUTION,FUEL TANK

SN: 20003-@

1шт.

32

09690-00900

PLATE, MARK,KOMATSU

SN: 20003-@

1шт.

33

273-53-11240

PLATE, OPERATING

SN: 20003-@

1шт.

34

273-53-11220

PLATE

SN: 20003-@

1шт.

35

273-53-11230

PLATE

SN: 20003-@

1шт.

36

273-53-11130

PLATE

SN: 20003-@

1шт.

37

237-54-13160

PLATE, NAME

SN: 20003-@

1шт.

38

273-53-11250

PLATE

SN: 20003-@

1шт.

39

09683-00160

PLATE, OPERATING,STARTING SWITCH

SN: 20003-@

1шт.

40

273-53-11330

PLATE,TRAVEL

SN: 20003-@

1шт.

41

273-53-11120

PLATE, OPERATING

SN: 20003-20082

1шт.

42

09649-10001

PLATE, INSTRUCTION,ENGINE STOP

SN: 20003-@

1шт.

43

09651-10000

PLATE, SAFETY,BEFORE OPERATING

SN: 20003-@

1шт.

44

09690-10355

PLATE, MARK,KOMATSU

SN: 20003-@

2шт.

45

273-53-12150

PLATE, CAUTION,BEFORE OPERATING

SN: 20003-@

1шт.

46

273-53-21131

PLATE,STANDARD STRUCTURE

SN: 20003-@

1шт.

Выбрано товаров: 48