Качественные детали и логистика
Оригинальные и аналоговые запчасти с доставкой по России, Казахстану и Беларуси
©2022 PartSell ООО "Система" ИНН 2463123282 ОГРН 1212400004838
Центральный офис: г. Красноярск, Академика Киренского, д.87, пом.4
Телефон: 8 (800) 777-65-74 Email: zakaz@partsell.ru
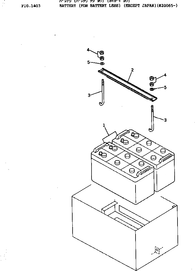
АККУМУЛЯТОР (ДЛЯ БЕЗ АККУМУЛЯТОРА) (КРОМЕ ЯПОН.)(№-)
№
Артикул
Название
Примечание
Количество
1
273-06-14130
HOLDER
SN: 20065-UP
1шт.
2
273-06-14140
ROD
2шт.
3
01580-11008
NUT
4шт.
4
01640-21016
WASHER
Выбрано товаров: 0