Запчасти Komatsu JV100WA-1 ЭЛЕКТРИКА (ЗАДН.) (КРОМЕ ЯПОН.) КОМПОНЕНТЫ ДВИГАТЕЛЯ И ЭЛЕКТРИКА

Схема запчастей Komatsu JV100WA-1 - ЭЛЕКТРИКА (ЗАДН.) (КРОМЕ ЯПОН.) КОМПОНЕНТЫ ДВИГАТЕЛЯ И ЭЛЕКТРИКА
FIT
1:1
100%

Артикул

Название

Примечание

Количество

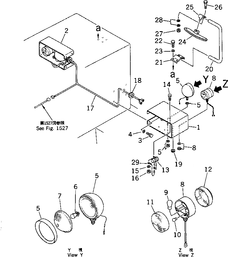
1

273-06-13162

BRACKET,L.H.

SN: 20003-UP

1шт.

2

273-06-13171

BRACKET,R.H.

SN: 20003-UP

1шт.

3

01010-50820

BOLT

SN: 20003-UP

8шт.

4

01643-30823

WASHER

SN: 20003-UP

8шт.

5

232-06-51980

LAMP ASS'Y,WORK

SN: 20003-UP

2шт.

6

08100-02460

BULB, 60/60W

SN: 20003-UP

1шт.

7

232-06-51990

LENS

SN: 20003-UP

1шт.

8

273-06-12610

LAMP ASS'Y,COMBINATION

SN: 20003-UP

2шт.

9

08105-02420

BULB, 25W

SN: 20003-UP

1шт.

10

08136-02405

BULB, 5W

SN: 20003-UP

1шт.

11

08136-00006

LENS,FRONT

SN: 20003-UP

1шт.

12

08136-00003

LENS,REAR

SN: 20003-UP

1шт.

13

08165-22400

BUZZER,BACK

SN: 20003-UP

1шт.

14

01010-51020

BOLT

SN: 20003-UP

1шт.

15

01643-31032

WASHER

SN: 20003-UP

1шт.

16

01580-11008

NUT

SN: 20003-UP

1шт.

17

273-06-11140

HARNESS

SN: 20003-UP

1шт.

18

08037-02512

GROMMET

SN: 20003-UP

2шт.

19

08037-01610

GROMMET

SN: 20003-UP

2шт.

20

232-06-53290

STAY

SN: 20003-UP

1шт.

21

232-06-15131

BRACKET

SN: 20003-UP

1шт.

22

01010-51040

BOLT

SN: 20003-UP

4шт.

23

01643-31032

WASHER

SN: 20003-UP

4шт.

24

08174-10001

MIRROR

SN: 20003-UP

1шт.

25

232-06-15151

PIVOT

SN: 20003-UP

1шт.

26

01010-50820

BOLT

SN: 20003-UP

1шт.

27

01580-10806

NUT

SN: 20003-UP

1шт.

28

01643-30823

WASHER

SN: 20003-UP

2шт.

29

273-06-11340

CABLE

SN: 20003-UP

1шт.

Выбрано товаров: 29