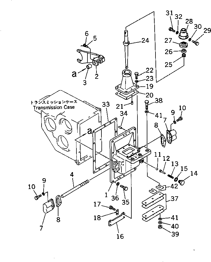
Запчасти Komatsu JV100WA-1 ПЕРЕКЛЮЧ-Е ПЕРЕДАЧ ВИЛЫ (ДЛЯ 2 ПЕРЕКЛЮЧ-Е ПЕРЕДАЧ ТРАНСМИССИЯ) (КРОМЕ ЯПОН.)(№-) ТРАНСМИССИЯ

Схема запчастей Komatsu JV100WA-1 - ПЕРЕКЛЮЧ-Е ПЕРЕДАЧ ВИЛЫ (ДЛЯ 2 ПЕРЕКЛЮЧ-Е ПЕРЕДАЧ ТРАНСМИССИЯ) (КРОМЕ ЯПОН.)(№-) ТРАНСМИССИЯ
FIT
1:1
100%

Артикул

Название

Примечание

Количество

|$0

273-14-12100

TRANSMISSION ASS'Y

SN: 20065-UP

1шт.

|$$2

THIS ASSEMBLY CONSISTS OF ALL PARTS SHOWN IN FIGS.2411 TO 2417.

-1шт.

1

273-14-11120

CASE

SN: 20065-UP

1шт.

2

273-14-11530

FORK

SN: 20065-UP

1шт.

3

273-14-11560

COLLAR

SN: 20065-UP

1шт.

4

273-14-11520

SHAFT

SN: 20065-UP

1шт.

5

232-14-17451

BOLT

SN: 20065-UP

1шт.

6

04059-01025

WIRE

SN: 20065-UP

1шт.

7

232-14-17140

COVER

SN: 20065-UP

2шт.

8

234-14-17150

GASKET

SN: 20065-UP

2шт.

9

01643-30823

WASHER

SN: 20065-UP

6шт.

10

01010-50825

BOLT

SN: 20065-UP

6шт.

11

04260-01587

BALL

SN: 20065-UP

1шт.

12

232-14-17490

GUIDE

SN: 20065-UP

1шт.

13

273-14-11581

SPRING

SN: 20261-UP

1шт.

13

273-14-11580

SPRING

SN: 20065-20260

1шт.

14

232-14-17373

PLUG

SN: 20065-UP

2шт.

15

07003-12026

GASKET

SN: 20065-UP

2шт.

16

273-14-12110

GUIDE

SN: 20065-UP

1шт.

17

01010-51025

BOLT

SN: 20065-UP

4шт.

18

232-14-13190

LOCK

SN: 20065-UP

2шт.

19

273-14-11170

BRACKET

SN: 20065-UP

1шт.

20

273-14-11181

GASKET

SN: 20297-UP

1шт.

20

0

GASKET

SN: 20065-20296

1шт.

21

04020-01228

PIN,DOWEL

SN: 20065-UP

2шт.

22

01010-51030

BOLT

SN: 20065-UP

4шт.

23

01643-31032

WASHER

SN: 20065-UP

4шт.

24

273-14-11250

LEVER

SN: 20065-UP

1шт.

25

232-14-17640

SPRING

SN: 20065-UP

1шт.

26

238-14-15180

CAP

SN: 20065-UP

1шт.

27

232-14-17660

COVER

SN: 20065-UP

1шт.

28

232-14-17810

BOOT

SN: 20065-UP

1шт.

29

232-14-17672

BOLT

SN: 20065-UP

1шт.

30

01643-31032

WASHER

SN: 20065-UP

1шт.

31

01010-50812

BOLT

SN: 20065-UP

1шт.

32

01643-30823

WASHER

SN: 20065-UP

1шт.

33

273-14-11131

GASKET

SN: 20297-UP

1шт.

33

273-14-11130

GASKET

SN: 20065-20296

1шт.

34

04020-01228

PIN,DOWEL

SN: 20065-UP

2шт.

35

01010-51235

BOLT

SN: 20065-UP

10шт.

36

01643-31232

WASHER

SN: 20065-UP

10шт.

37

273-14-00010

SHIM ASS'Y

SN: 20065-UP

1шт.

37

0

SHIM, 0.5MM

SN: 20065-UP

4шт.

37

0

SHIM, 0.2MM

SN: 20065-UP

4шт.

38

01010-51265

BOLT

SN: 20065-UP

3шт.

39

01580-11210

NUT

SN: 20065-UP

3шт.

40

01643-31232

WASHER

SN: 20065-UP

3шт.

41

01643-31232

WASHER

SN: 20065-UP

6шт.

42

273-14-00020

SHIM ASS'Y

SN: 20065-UP

1шт.

42

0

SHIM, 0.5MM

SN: 20065-UP

8шт.

42

0

SHIM, 0.5MM

SN: 20065-UP

8шт.

Выбрано товаров: 51