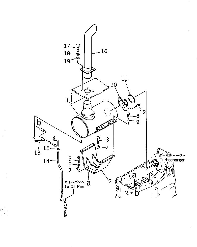
Запчасти Komatsu JV100WA-1 ВЫПУСКН. СИСТЕМА (ДЛЯ UPWARD ВЫПУСКН.) (КРОМЕ ЯПОН.)(№-) КОМПОНЕНТЫ ДВИГАТЕЛЯ И ЭЛЕКТРИКА

Схема запчастей Komatsu JV100WA-1 - ВЫПУСКН. СИСТЕМА (ДЛЯ UPWARD ВЫПУСКН.) (КРОМЕ ЯПОН.)(№-) КОМПОНЕНТЫ ДВИГАТЕЛЯ И ЭЛЕКТРИКА
FIT
1:1
100%

Артикул

Название

Примечание

Количество

1

6137-11-5610

MUFFLER

SN: 20065-UP

1шт.

2

6137-11-5731

BRACKET

SN: 20065-UP

1шт.

3

01010-31040

BOLT

SN: 20065-UP

4шт.

4

6631-11-5630

SPACER

SN: 20065-UP

4шт.

5

01010-30840

BOLT

SN: 20065-UP

1шт.

6

01642-20810

WASHER

SN: 20065-UP

1шт.

7

6631-11-5630

SPACER

SN: 20065-UP

1шт.

8

01010-31205

BOLT

SN: 20065-UP

4шт.

9

01642-01016

WASHER

SN: 20065-UP

4шт.

10

6131-11-5230

JOINT

SN: 20065-UP

1шт.

11

6114-11-5280

RING,SEAL

SN: 20065-UP

1шт.

12

6131-11-5360

BOLT

SN: 20065-UP

2шт.

13

6137-11-5580

PIPE,DRAIN

SN: 20065-UP

1шт.

14

07260-20971

HOSE

SN: 20065-UP

1шт.

15

6136-11-5680

CLIP

SN: 20065-UP

1шт.

16

273-54-12720

PIPE,EXHAUST

SN: 20065-UP

1шт.

17

01010-51025

BOLT

SN: 20065-UP

4шт.

18

01643-31032

WASHER

SN: 20065-UP

4шт.

19

234-54-13252

WASHER

SN: 20065-UP

4шт.

Выбрано товаров: 19