Запчасти Komatsu JV100WA-1 СТОЯНОЧНЫЙ ТОРМОЗ(№97-) РУЛЕВ. УПРАВЛЕНИЕ И СИСТЕМА УПРАВЛЕНИЯS

Схема запчастей Komatsu JV100WA-1 - СТОЯНОЧНЫЙ ТОРМОЗ(№97-) РУЛЕВ. УПРАВЛЕНИЕ И СИСТЕМА УПРАВЛЕНИЯS
FIT
1:1
100%

Артикул

Название

Примечание

Количество

|$0

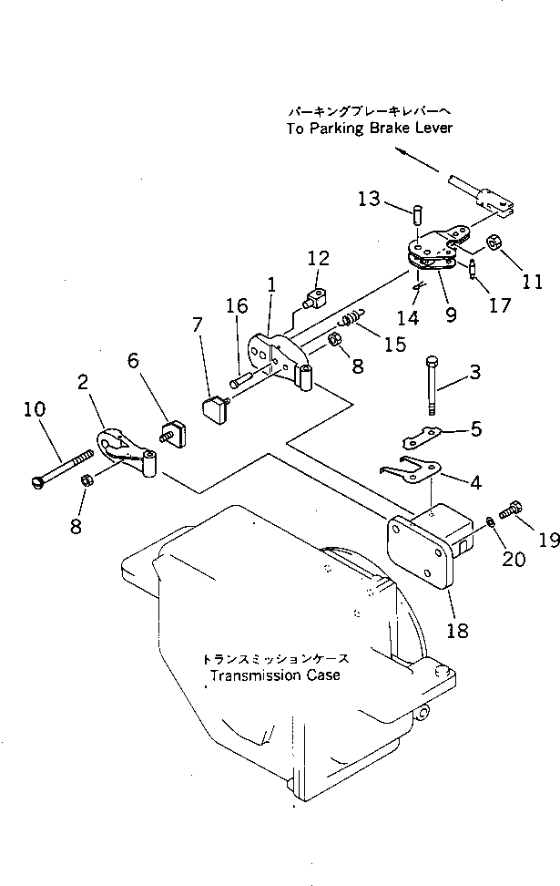
273-32-12111

PARKING BRAKE ASS'Y

SN: 20297-UP

1шт.

1

273-32-12130

INNER PAD CARRIER

SN: 20003-UP

1шт.

2

273-32-12140

OUTER PAD CARRIER

SN: 20003-UP

1шт.

3

273-32-12151

BOLT

SN: 20297-UP

2шт.

|$4

273-32-02101

PAD KIT

SN: 20297-UP

1шт.

4

273-32-12160

PLATE (KIT)

SN: 20003-UP

1шт.

5

273-32-12170

WASHER (KIT)

SN: 20003-UP

1шт.

6

273-32-12181

PAD ASS'Y,(A) (KIT)

SN: 20297-UP

1шт.

7

273-32-12191

PAD ASS'Y,(B) (KIT)

SN: 20297-UP

1шт.

8

273-32-12211

NUT (KIT)

SN: 20297-UP

2шт.

9

273-32-12231

LEVER ASS'Y

SN: 20297-UP

1шт.

10

273-32-12240

BOLT

SN: 20003-UP

1шт.

11

273-32-12260

NUT

SN: 20003-UP

1шт.

12

273-32-12270

SEAT,PIVOT

SN: 20003-UP

1шт.

13

273-32-12280

PIN,HINGE

SN: 20003-UP

1шт.

14

273-32-12290

PIN,SPLIT

SN: 20003-UP

1шт.

15

273-32-12311

SPRING,RETURN

SN: 20297-UP

1шт.

16

273-32-12320

PIN,ANCHOR

SN: 20003-UP

1шт.

17

273-32-12330

PIN,SUPPORT

SN: 20003-UP

1шт.

18

273-32-12120

BRACKET

SN: 20003-UP

1шт.

19

01010-51240

BOLT

SN: 20003-UP

3шт.

20

01643-31232

WASHER

SN: 20003-UP

3шт.

Выбрано товаров: 22