Запчасти Komatsu JV100WA-1 СИСТЕМА ТРУБ РАДИАТОРА И КРЕПЛЕНИЕ (ДЛЯ ОБОГРЕВАТЕЛЬ.) КОМПОНЕНТЫ ДВИГАТЕЛЯ И ЭЛЕКТРИКА

Схема запчастей Komatsu JV100WA-1 - СИСТЕМА ТРУБ РАДИАТОРА И КРЕПЛЕНИЕ (ДЛЯ ОБОГРЕВАТЕЛЬ.) КОМПОНЕНТЫ ДВИГАТЕЛЯ И ЭЛЕКТРИКА
FIT
1:1
100%

Артикул

Название

Примечание

Количество

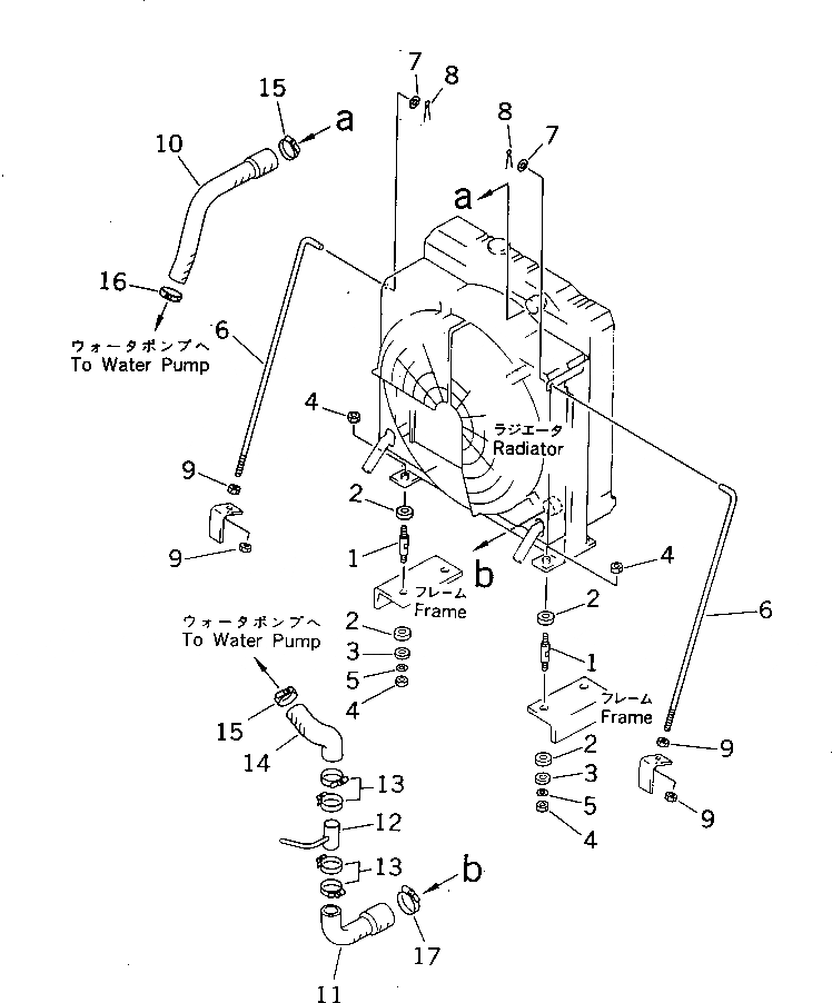
1

273-03-11220

STUD

SN: 20003-UP

4шт.

2

236-03-21180

CUSHION

SN: 20003-UP

8шт.

3

273-03-11230

WASHER

SN: 20003-UP

4шт.

4

01580-11210

NUT

SN: 20003-UP

8шт.

5

01643-31232

WASHER

SN: 20003-UP

4шт.

6

273-03-11210

ROD

SN: 20003-UP

2шт.

7

01641-21223

WASHER

SN: 20003-UP

2шт.

8

04050-13020

PIN,COTTER

SN: 20003-UP

2шт.

9

01580-11210

NUT

SN: 20003-UP

4шт.

10

273-03-12110

HOSE,UPPER

SN: 20003-UP

1шт.

11

273-807-1520

HOSE,LOWER

SN: 20003-UP

1шт.

12

273-807-1510

TEE

SN: 20003-UP

1шт.

13

07281-00709

CLAMP

SN: 20003-UP

4шт.

14

273-807-1530

HOSE,LOWER

SN: 20003-UP

1шт.

15

07281-00809

CLAMP

SN: 20003-UP

2шт.

16

07281-00709

CLAMP

SN: 20003-UP

1шт.

17

07281-00909

CLAMP

SN: 20003-UP

1шт.

Выбрано товаров: 0