Запчасти Komatsu JV100WA-1 VIBRATION РЫЧАГ УПРАВЛ-Я(№-8) РУЛЕВ. УПРАВЛЕНИЕ И СИСТЕМА УПРАВЛЕНИЯS

Схема запчастей Komatsu JV100WA-1 - VIBRATION РЫЧАГ УПРАВЛ-Я(№-8) РУЛЕВ. УПРАВЛЕНИЕ И СИСТЕМА УПРАВЛЕНИЯS
FIT
1:1
100%

Артикул

Название

Примечание

Количество

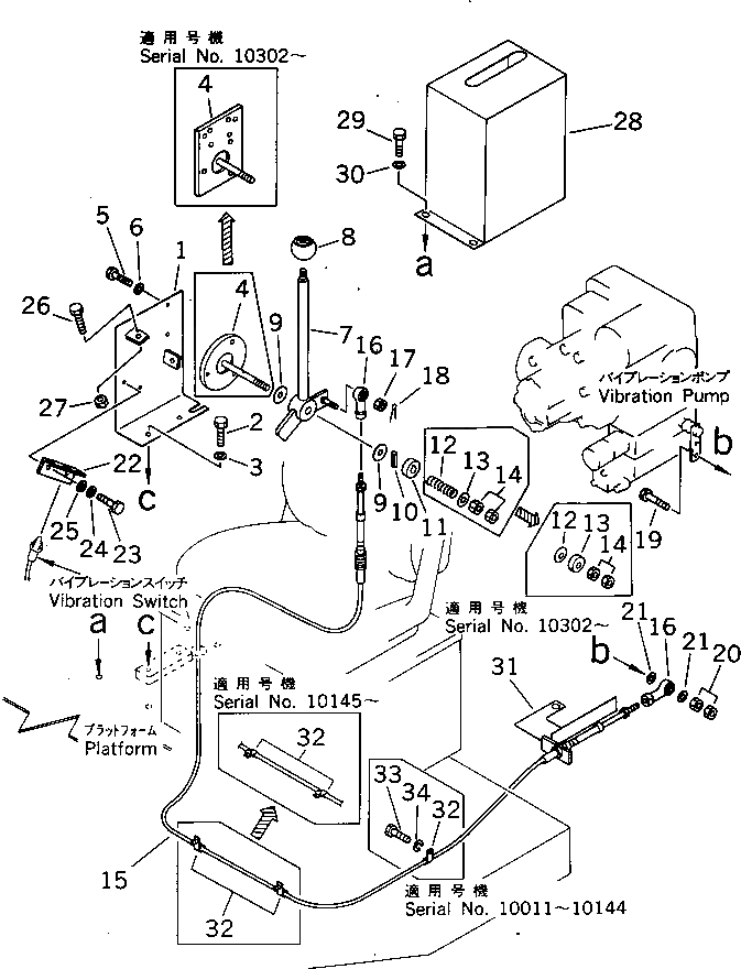
1

273-43-17530

BRACKET

SN: 20003-@

1шт.

2

01010-51225

BOLT

SN: 20003-@

2шт.

3

01643-31232

WASHER

SN: 20003-@

2шт.

4

273-43-17551

BRACKET

SN: 20026-20082

1шт.

|4

273-43-17550

BRACKET

SN: 20003-20025

1шт.

5

01010-50820

BOLT

SN: 20003-@

3шт.

6

01643-30823

WASHER

SN: 20003-@

3шт.

7

273-43-17581

LEVER

SN: 20026-@

1шт.

|7

273-43-17580

LEVER

SN: 20003-20025

1шт.

7A

273-43-12240

BOLT

SN: 20026-@

2шт.

7B

04260-00952

BALL

SN: 20026-@

2шт.

7C

273-43-12290

SPRING

SN: 20026-@

2шт.

7D

01582-11411

NUT

SN: 20026-@

2шт.

8

237-43-17480

KNOB

SN: 20003-@

1шт.

9

10E-43-11160

FACING

SN: 20003-@

2шт.

10

04025-00416

PIN,SPRING

SN: 20003-@

1шт.

11

273-43-12120

DISC

SN: 20003-@

1шт.

12

273-43-12220

SPRING

SN: 20003-30082

1шт.

13

01640-21426

WASHER

SN: 20003-30082

1шт.

14

01583-11210

NUT

SN: 20003-@

2шт.

15

273-43-17620

CABLE

SN: 20003-@

1шт.

16

04250-40639

END,ROD

SN: 20003-@

2шт.

17

01590-10607

NUT

SN: 20003-@

1шт.

18

04050-11215

PIN,COTTER

SN: 20003-@

1шт.

19

01010-50635

BOLT

SN: 20003-@

1шт.

20

01580-10605

NUT

SN: 20003-@

2шт.

21

01640-20610

WASHER

SN: 20003-@

2шт.

22

273-43-17150

BRACKET

SN: 20003-@

1шт.

23

01010-50616

BOLT

SN: 20003-@

2шт.

24

01643-30623

WASHER

SN: 20003-@

2шт.

25

01643-30623

WASHER

SN: 20003-@

2шт.

26

01016-50840

BOLT

SN: 20050-@

2шт.

|26

01016-50830

BOLT

SN: 20003-20049

2шт.

27

01580-10806

NUT

SN: 20003-@

2шт.

28

273-43-17520

COVER

SN: 20003-@

1шт.

29

01010-51020

BOLT

SN: 20003-@

4шт.

30

01643-31032

WASHER

SN: 20003-@

4шт.

31

273-43-17590

BRACKET

SN: 20003-@

1шт.

32

08036-10814

CLIP

SN: 20009-@

2шт.

|32

08036-10810

CLIP

SN: 20003-20008

3шт.

33

01010-50816

BOLT

SN: 20009-@

2шт.

|33

01010-50816

BOLT

SN: 20003-20008

3шт.

34

01602-20825

WASHER,SPRING

SN: 20009-@

2шт.

|34

01602-20825

WASHER,SPRING

SN: 20003-20008

3шт.

Выбрано товаров: 44