Запчасти Komatsu JV100WP-1 СТАЛЬНАЯ КАБИНА (С КРЫША ДВЕРЬ ТИП) (/) (B-ТИП) (КРОМЕ ЯПОН.) РАМА И КУЗОВ

Схема запчастей Komatsu JV100WP-1 - СТАЛЬНАЯ КАБИНА (С КРЫША ДВЕРЬ ТИП) (/) (B-ТИП) (КРОМЕ ЯПОН.) РАМА И КУЗОВ
FIT
1:1
100%

Артикул

Название

Примечание

Количество

|$0

273-950-0022

CAB ASS'Y

SN: 30046-UP

1шт.

|$1

273-950-0021

CAB ASS'Y

SN: 30003-30045

1шт.

|$$3

THESE ASSEMBLIES CONSIST OF ALL PARTS SHOWN IN FIGS.5481 TO 5491.

-1шт.

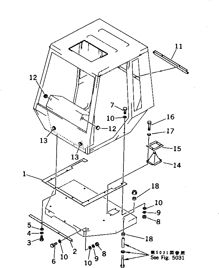
1

273-950-1270

SEAT

SN: 30003-UP

1шт.

2

273-950-1280

BRACKET

SN: 30003-UP

1шт.

3

01010-51030

BOLT

SN: 30003-UP

2шт.

4

01643-31032

WASHER

SN: 30003-UP

2шт.

5

01643-31032

WASHER

SN: 30003-UP

2шт.

6

01010-51025

BOLT

SN: 30003-UP

3шт.

7

01010-51030

BOLT

SN: 30003-UP

6шт.

8

01580-11008

NUT

SN: 30003-UP

9шт.

9

01643-31032

WASHER

SN: 30003-UP

9шт.

10

01643-31032

WASHER

SN: 30003-UP

18шт.

11

273-950-1190

SUPPORT

SN: 30003-UP

1шт.

12

09415-02512

CAP

SN: 30003-UP

2шт.

13

09415-03614

CAP

SN: 30003-UP

2шт.

14

273-43-16120

COVER

SN: 30003-UP

1шт.

15

273-43-16130

PLATE

SN: 30003-UP

1шт.

16

01010-50820

BOLT

SN: 30003-UP

4шт.

17

01602-20825

WASHER,SPRING

SN: 30003-UP

4шт.

18

237-54-11270

CUSHION

SN: 30003-UP

8шт.

Выбрано товаров: 21