Качественные детали и логистика
Оригинальные и аналоговые запчасти с доставкой по России, Казахстану и Беларуси
©2022 PartSell ООО "Система" ИНН 2463123282 ОГРН 1212400004838
Центральный офис: г. Красноярск, Академика Киренского, д.87, пом.4
Телефон: 8 (800) 777-65-74 Email: zakaz@partsell.ru
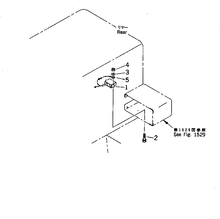
СИГНАЛ ЗАДНЕГО ХОДА (КРОМЕ ЯПОН.)
№
Артикул
Название
Примечание
Количество
1
08164-00000
BUZZER,BACK-UP
SN: 30003-UP
1шт.
2
01011-51000
BOLT
2шт.
3
01643-31032
WASHER
4
01580-11008
NUT
5
273-06-11340
CABLE
Выбрано товаров: 0