Запчасти Komatsu JV100WP-1 КЛАПАН РУЛЕВОГО УПРАВЛЕНИЯ ТРАНСМИССИЯ

Схема запчастей Komatsu JV100WP-1 - КЛАПАН РУЛЕВОГО УПРАВЛЕНИЯ ТРАНСМИССИЯ
FIT
1:1
100%

Артикул

Название

Примечание

Количество

|$0

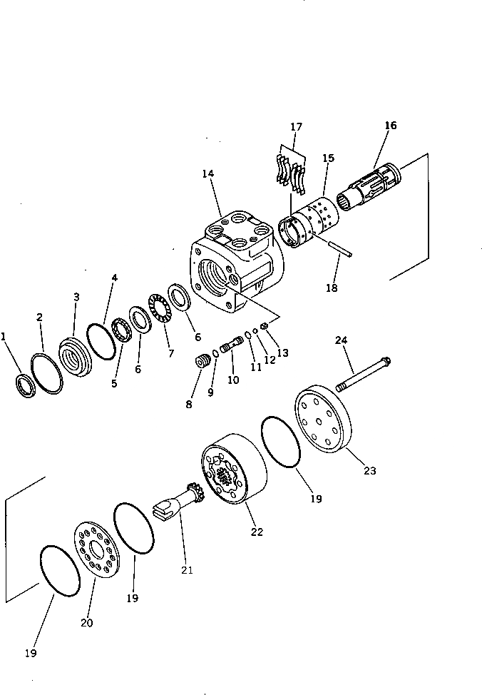
273-40-12120

VALVE ASS'Y,STEERING

SN: 30003-UP

1шт.

1

0

SEAL,DUST (K2)

SN: 30003-UP

1шт.

2

273-40-12420

RING

SN: 30003-UP

1шт.

3

273-40-12430

BUSHING

SN: 30003-UP

1шт.

4

0

O-RING (K2)

SN: 30003-UP

1шт.

5

0

SEAL,OIL (K2)

SN: 30003-UP

1шт.

|$6

273-40-12460

BEARING ASS'Y

SN: 30003-UP

1шт.

6

273-40-12470

BEARING,RACE

SN: 30003-UP

2шт.

7

273-40-12480

NEEDLE

SN: 30003-UP

1шт.

8

273-40-12490

SCREW,SET

SN: 30003-UP

1шт.

9

0

O-RING (K2)

SN: 30003-UP

1шт.

10

273-40-12520

SEAT,CHECK

SN: 30003-UP

1шт.

11

0

O-RING (K2)

SN: 30003-UP

1шт.

12

273-40-12540

BALL

SN: 30003-UP

1шт.

13

273-40-12550

RETAINER

SN: 30003-UP

1шт.

|$15

273-40-12560

CONTROL ASS'Y,VALVE

SN: 30003-UP

1шт.

14

0

HOUSING

SN: 30003-UP

1шт.

15

0

SLEEVE,CONTROL

SN: 30003-UP

1шт.

16

0

SPOOL,CONTROL

SN: 30003-UP

1шт.

17

273-40-12610

SPRING,CENTER RING

SN: 30003-UP

6шт.

18

273-40-12620

PIN

SN: 30003-UP

1шт.

19

0

O-RING (K2)

SN: 30003-UP

3шт.

20

273-40-12640

PLATE,SPACER

SN: 30003-UP

1шт.

21

273-40-12650

SHAFT

SN: 30003-UP

1шт.

22

273-40-12660

ROTOR

SN: 30003-UP

1шт.

23

273-40-12670

CAP,END

SN: 30003-UP

1шт.

24

273-40-12680

SCREW

SN: 30003-UP

7шт.

Выбрано товаров: 27