Запчасти Komatsu JV100WP-1 VIBRATION РЫЧАГ УПРАВЛ-Я(№-) РУЛЕВ. УПРАВЛЕНИЕ И СИСТЕМА УПРАВЛЕНИЯS

Схема запчастей Komatsu JV100WP-1 - VIBRATION РЫЧАГ УПРАВЛ-Я(№-) РУЛЕВ. УПРАВЛЕНИЕ И СИСТЕМА УПРАВЛЕНИЯS
FIT
1:1
100%

Артикул

Название

Примечание

Количество

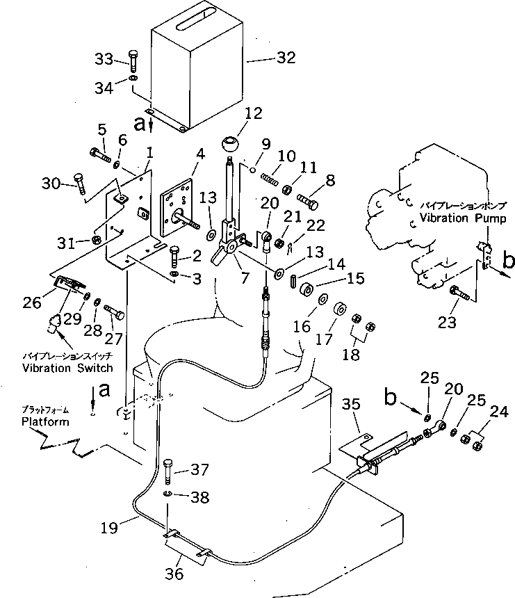
1

273-43-17530

BRACKET

SN: 30003-UP

1шт.

2

01010-51225

BOLT

SN: 30003-UP

2шт.

3

01643-31232

WASHER

SN: 30003-UP

2шт.

4

273-43-17552

BRACKET

SN: 30046-UP

1шт.

5

01010-50820

BOLT

SN: 30003-UP

3шт.

6

01643-30823

WASHER

SN: 30003-UP

3шт.

7

273-43-17581

LEVER

SN: 30017-UP

1шт.

8

273-43-12240

BOLT

SN: 30003-UP

2шт.

9

04260-00952

BALL

SN: 30003-UP

2шт.

10

273-43-12290

SPRING

SN: 30003-UP

2шт.

11

01582-11411

NUT

SN: 30003-UP

2шт.

12

237-43-17480

KNOB

SN: 30003-UP

1шт.

13

10E-43-11160

FACING

SN: 30003-UP

2шт.

14

04025-00416

PIN,SPRING

SN: 30003-UP

1шт.

15

273-43-12120

DISC

SN: 30003-UP

1шт.

16

101-854-9355

SPRING

SN: 30046-UP

1шт.

17

23A-43-12220

DISC

SN: 30046-UP

1шт.

18

01580-11408

NUT

SN: 30046-UP

2шт.

19

273-43-17620

CABLE

SN: 30003-UP

1шт.

20

04250-40639

END,ROD

SN: 30003-UP

2шт.

21

01590-10607

NUT

SN: 30003-UP

1шт.

22

04050-11215

PIN,COTTER

SN: 30003-UP

1шт.

23

01010-50635

BOLT

SN: 30003-UP

1шт.

24

01580-10605

NUT

SN: 30003-UP

2шт.

25

01640-20610

WASHER

SN: 30003-UP

2шт.

26

273-43-17150

BRACKET

SN: 30003-UP

1шт.

27

01010-50616

BOLT

SN: 30003-UP

2шт.

28

01643-30623

WASHER

SN: 30003-UP

2шт.

29

01640-20610

WASHER

SN: 30003-UP

2шт.

30

01016-50840

BOLT

SN: 30081-UP

2шт.

30

01016-50830

BOLT

SN: 30003-30080

2шт.

31

01580-20806

NUT

SN: 30003-UP

2шт.

32

273-43-17520

COVER

SN: 30003-UP

1шт.

33

01010-51020

BOLT

SN: 30003-UP

4шт.

34

01643-31032

WASHER

SN: 30003-UP

4шт.

35

273-43-17590

BRACKET

SN: 30003-UP

1шт.

36

08036-10814

CLIP

SN: 30009-UP

2шт.

37

01010-50816

BOLT

SN: 30009-UP

2шт.

38

01602-20825

WASHER,SPRING

SN: 30009-UP

2шт.

Выбрано товаров: 39