Запчасти Komatsu JV100WP-1 РЫЧАГ УПРАВЛ-Я ТРАНСМИССИЕЙ (ДЛЯ 2 ПЕРЕКЛЮЧ-Е ПЕРЕДАЧ ТРАНСМИССИЯ) (КРОМЕ ЯПОН.) РУЛЕВ. УПРАВЛЕНИЕ И СИСТЕМА УПРАВЛЕНИЯS

Схема запчастей Komatsu JV100WP-1 - РЫЧАГ УПРАВЛ-Я ТРАНСМИССИЕЙ (ДЛЯ 2 ПЕРЕКЛЮЧ-Е ПЕРЕДАЧ ТРАНСМИССИЯ)   (КРОМЕ ЯПОН.) РУЛЕВ. УПРАВЛЕНИЕ И СИСТЕМА УПРАВЛЕНИЯS
FIT
1:1
100%

Артикул

Название

Примечание

Количество

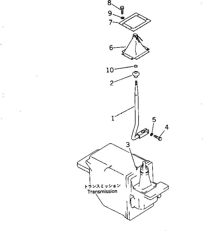
1

273-43-16110

LEVER

SN: 30042-UP

1шт.

2

237-43-16190

KNOB

SN: 30042-UP

1шт.

3

04010-00722

KEY

SN: 30042-UP

1шт.

4

01010-51245

BOLT

SN: 30042-UP

1шт.

5

01643-31232

WASHER

SN: 30042-UP

1шт.

6

273-43-16120

COVER,(FOR CAB)

SN: 30046-UP

1шт.

6

273-43-16120

COVER

SN: 30003-30045

1шт.

7

273-43-16130

PLATE,(FOR CAB)

SN: 30046-UP

1шт.

7

273-43-16130

PLATE

SN: 30003-30045

1шт.

8

01010-50820

BOLT,(FOR CAB)

SN: 30046-UP

4шт.

8

01010-50820

BOLT

SN: 30003-30045

4шт.

9

01643-30823

WASHER,(FOR CAB)

SN: 30046-UP

4шт.

9

01643-30823

WASHER

SN: 30003-30045

4шт.

10

273-53-51180

PLATE

SN: 30042-UP

1шт.

Выбрано товаров: 0