Запчасти Komatsu JV100WP-1 ПЕДАЛЬ ТОРМОЗА РУЛЕВ. УПРАВЛЕНИЕ И СИСТЕМА УПРАВЛЕНИЯS

Схема запчастей Komatsu JV100WP-1 - ПЕДАЛЬ ТОРМОЗА РУЛЕВ. УПРАВЛЕНИЕ И СИСТЕМА УПРАВЛЕНИЯS
FIT
1:1
100%

Артикул

Название

Примечание

Количество

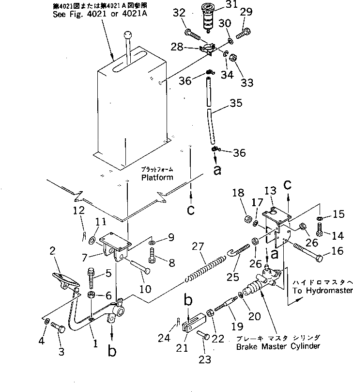
1

273-43-13110

LEVER

SN: 30003-UP

1шт.

2

232-43-13130

PEDAL,BRAKE

SN: 30003-UP

1шт.

3

01010-51035

BOLT

SN: 30003-UP

1шт.

4

01643-31032

WASHER

SN: 30003-UP

1шт.

5

09311-31237

BUMPER

SN: 30003-UP

1шт.

6

01580-11210

NUT

SN: 30003-UP

1шт.

7

273-43-13120

BRACKET

SN: 30003-UP

1шт.

8

01010-51225

BOLT

SN: 30003-UP

4шт.

9

01643-31232

WASHER

SN: 30003-UP

4шт.

10

273-43-13170

PIN

SN: 30003-UP

1шт.

11

01640-23045

WASHER

SN: 30003-UP

1шт.

12

04050-16045

PIN,COTTER

SN: 30003-UP

1шт.

13

273-43-13140

BRACKET

SN: 30003-UP

1шт.

14

01010-51225

BOLT

SN: 30003-UP

4шт.

15

01643-31032

WASHER

SN: 30003-UP

4шт.

16

01010-51095

BOLT

SN: 30003-UP

3шт.

17

01643-31032

WASHER

SN: 30003-UP

3шт.

18

01580-11008

NUT

SN: 30003-UP

3шт.

19

238-43-13130

ROD

SN: 30003-UP

1шт.

20

01650-21412

WASHER,LOCK

SN: 30003-UP

1шт.

21

04210-21456

YOKE

SN: 30003-UP

1шт.

22

01582-11411

NUT

SN: 30003-UP

1шт.

23

04205-11438

PIN

SN: 30003-UP

1шт.

24

04050-14022

PIN,COTTER

SN: 30003-UP

1шт.

25

232-43-53160

BOLT

SN: 30003-UP

1шт.

26

01580-11008

NUT

SN: 30003-UP

2шт.

27

273-43-13160

SPRING

SN: 30003-UP

1шт.

28

232-43-13440

BRACKET

SN: 30003-UP

1шт.

29

01010-50812

BOLT

SN: 30003-UP

2шт.

30

01643-30823

WASHER

SN: 30003-UP

2шт.

31

23E-43-13500

RESERVOIR ASS'Y,TANK

SN: 30082-UP

1шт.

31

0

RESERVOIR ASS'Y,TANK

SN: 30003-30081

1шт.

31

23E-43-13510

RESERVOIR

SN: 30082-UP

1шт.

31

232-43-13610

RESERVOIR

SN: 30003-30081

1шт.

31

232-43-13640

FLOAT

SN: 30003-UP

1шт.

31

23E-43-13520

CAP

SN: 30082-UP

1шт.

31

232-43-13630

BAFFLE

SN: 30003-30081

1шт.

31

232-43-13620

CAP

SN: 30003-UP

1шт.

32

01220-40530

SCREW

SN: 30003-UP

1шт.

33

01580-10504

NUT

SN: 30003-UP

1шт.

34

01601-20513

WASHER,SPRING

SN: 30003-UP

1шт.

35

273-43-13150

TUBE

SN: 30003-UP

1шт.

36

232-43-13450

CLAMP,WIRE

SN: 30003-UP

2шт.

Выбрано товаров: 43