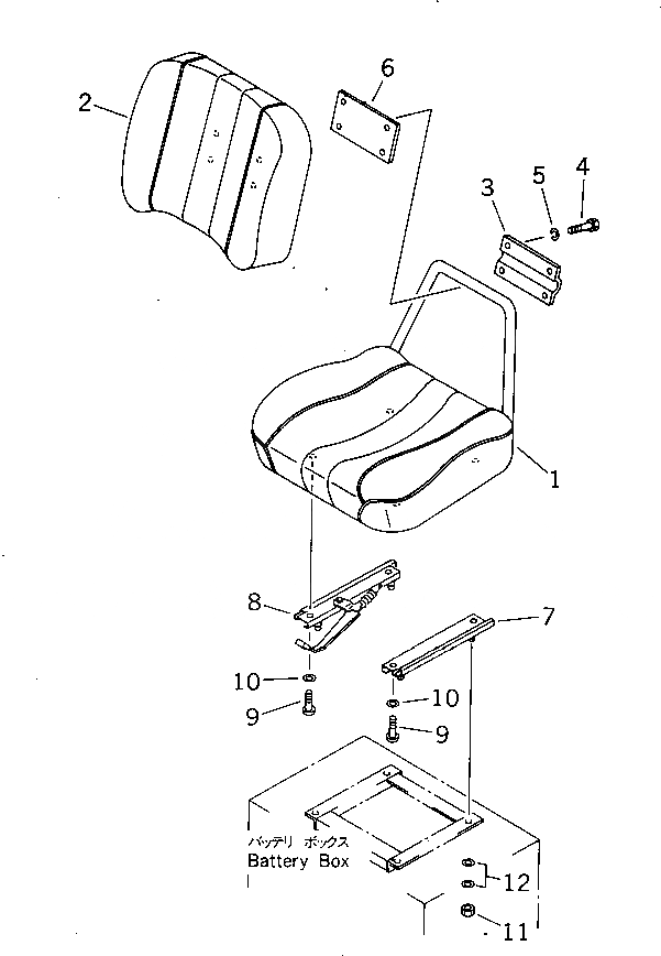
Запчасти Komatsu JV100WP-1 СИДЕНЬЕ ОПЕРАТОРА(№-) РАМА И КУЗОВ

Схема запчастей Komatsu JV100WP-1 - СИДЕНЬЕ ОПЕРАТОРА(№-) РАМА И КУЗОВ
FIT
1:1
100%

Артикул

Название

Примечание

Количество

|$0

23B-57-21000

OPERATOR'S SEAT A.

SN: 30046-UP

1шт.

1

23B-57-21110

SEAT ASS'Y,CUSHION

SN: 30046-UP

1шт.

2

23B-57-21120

SEAT ASS'Y,BACK

SN: 30046-UP

1шт.

3

23B-57-21160

CLAMP

SN: 30046-UP

1шт.

4

01010-50614

BOLT

SN: 30046-UP

4шт.

5

01643-30623

WASHER

SN: 30046-UP

4шт.

6

23B-57-51150

PLATE

SN: 30046-UP

1шт.

7

23B-57-21130

SLIDE,L.H.

SN: 30046-UP

1шт.

8

23B-57-21140

SLIDE,R.H.

SN: 30046-UP

1шт.

9

01220-40825

SCREW

SN: 30046-UP

4шт.

10

01643-30823

WASHER

SN: 30046-UP

4шт.

11

01580-10806

NUT

SN: 30046-UP

4шт.

12

01643-30823

WASHER

SN: 30046-UP

8шт.

Выбрано товаров: 13