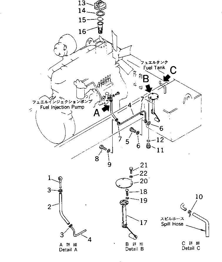
Запчасти Komatsu JV100WP-1 ТОПЛИВОПРОВОД. КОМПОНЕНТЫ ДВИГАТЕЛЯ И ЭЛЕКТРИКА

Схема запчастей Komatsu JV100WP-1 - ТОПЛИВОПРОВОД. КОМПОНЕНТЫ ДВИГАТЕЛЯ И ЭЛЕКТРИКА
FIT
1:1
100%

Артикул

Название

Примечание

Количество

1

238-04-12110

TUBE

SN: 30003-UP

1шт.

2

07260-20936

HOSE

SN: 30003-UP

1шт.

3

07281-00197

CLAMP

SN: 30003-UP

2шт.

4

273-04-12110

TUBE

SN: 30003-UP

1шт.

5

07206-11014

BOLT,JOINT

SN: 30003-UP

1шт.

6

07005-01412

GASKET

SN: 30003-UP

2шт.

7

234-04-11420

CLIP

SN: 30003-UP

2шт.

8

01010-50812

BOLT

SN: 30003-UP

2шт.

9

01643-30823

WASHER

SN: 30003-UP

2шт.

10

04059-01010

WIRE

SN: 30003-UP

2шт.

11

07044-12412

PLUG,DRAIN

SN: 30003-UP

1шт.

12

07002-12434

O-RING

SN: 30003-UP

1шт.

13

07050-21200

CAP

SN: 30003-UP

1шт.

14

07050-21202

GASKET

SN: 30003-UP

1шт.

15

07052-04087

RING,SNAP

SN: 30003-UP

1шт.

16

07056-18416

STRAINER

SN: 30003-UP

1шт.

17

273-04-11130

SENSOR,FUEL

SN: 30003-UP

1шт.

18

01220-40410

SCREW

SN: 30003-UP

5шт.

19

01601-20410

WASHER,SPRING

SN: 30003-UP

5шт.

20

273-46-11570

COVER

SN: 30003-UP

1шт.

21

01010-50820

BOLT

SN: 30003-UP

3шт.

22

01643-30823

WASHER

SN: 30003-UP

3шт.

Выбрано товаров: 22