Запчасти Komatsu JV100WP-1 РОЛИК (/) КОЛЕСА И ТОРМОЗ.

Схема запчастей Komatsu JV100WP-1 - РОЛИК (/) КОЛЕСА И ТОРМОЗ.
FIT
1:1
100%

Артикул

Название

Примечание

Количество

|1

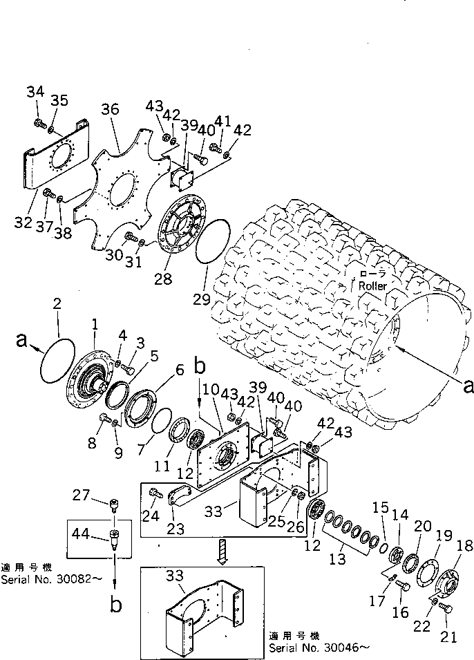
273-70-31000

ROLLER ASS'Y

SN: 30003-UP

1шт.

|$$2

THIS ASSEMBLY CONSISTS OF ALL PARTS SHOWN IN FIGS.3001 AND 3003.

-1шт.

1

273-70-21260

FLANGE,AXLE

SN: 30003-UP

1шт.

2

07000-15500

O-RING

SN: 30003-UP

1шт.

3

01010-52060

BOLT

SN: 30003-UP

16шт.

4

01643-32060

WASHER

SN: 30003-UP

16шт.

5

273-70-21320

RING

SN: 30003-UP

1шт.

6

273-70-21280

RING

SN: 30003-UP

1шт.

7

07000-15325

O-RING

SN: 30003-UP

1шт.

8

01010-51035

BOLT

SN: 30003-UP

6шт.

9

01643-31032

WASHER

SN: 30003-UP

6шт.

10

273-70-21270

HUB

SN: 30003-UP

1шт.

11

273-70-21330

SEAL,OIL

SN: 30003-UP

1шт.

12

06000-32026

BEARING

SN: 30003-UP

2шт.

13

273-70-00030

SHIM ASS'Y

SN: 30003-UP

1шт.

|13

273-70-21350

SHIM,0.1MM

SN: 30003-UP

4шт.

|13

273-70-21360

SHIM,0.5MM

SN: 30003-UP

2шт.

14

273-70-21290

COVER

SN: 30003-UP

1шт.

15

07000-12125

O-RING

SN: 30003-UP

1шт.

16

01010-51035

BOLT

SN: 30003-UP

6шт.

17

273-70-21310

WASHER

SN: 30003-UP

3шт.

18

273-70-21380

FLANGE

SN: 30003-UP

1шт.

19

273-70-21371

GASKET,(NON ASBESTOS)

SN: 30087-UP

1шт.

|19

0

GASKET

SN: 30003-30086

1шт.

20

273-70-21340

SEAL,OIL

SN: 30003-UP

1шт.

21

01010-51245

BOLT

SN: 30003-UP

6шт.

22

01643-31232

WASHER,SPRING

SN: 30003-UP

6шт.

23

273-70-21430

STOPPER

SN: 30003-30086

2шт.

24

01010-52070

BOLT

SN: 30003-30086

8шт.

25

01602-22060

WASHER,SPRING

SN: 30003-30086

8шт.

26

01580-12016

NUT

SN: 30003-30086

8шт.

27

07030-10252

BREATHER

SN: 30003-UP

1шт.

28

273-70-21250

FLANGE

SN: 30003-UP

1шт.

29

07000-15500

O-RING

SN: 30003-UP

1шт.

30

01010-52060

BOLT

SN: 30003-UP

16шт.

31

01643-32032

WASHER

SN: 30003-UP

16шт.

32

273-70-21420

BRACKET,R.H.

SN: 30003-UP

1шт.

33

273-70-21411

BRACKET,L.H.

SN: 30046-UP

1шт.

|33

273-70-21410

BRACKET,L.H.

SN: 30003-30045

1шт.

34

01010-51650

BOLT

SN: 30003-UP

16шт.

35

01643-31645

WASHER,SPRING

SN: 30003-UP

16шт.

36

273-70-31130

PLATE

SN: 30003-UP

1шт.

37

01010-51650

BOLT

SN: 30003-UP

16шт.

38

01643-31645

WASHER

SN: 30003-UP

16шт.

39

273-70-11720

CUSHION

SN: 30003-UP

10шт.

|39

273-70-11730

CUSHION,(12200KG SPEC)

SN: 30003-UP

10шт.

40

01010-51240

BOLT

SN: 30003-UP

56шт.

|40

01010-51245

BOLT

SN: 30003-UP

56шт.

41

01010-51225

BOLT

SN: 30003-UP

24шт.

|41

01010-51230

BOLT

SN: 30003-UP

24шт.

42

01643-31232

WASHER

SN: 30003-UP

80шт.

43

01580-11210

NUT

SN: 30003-UP

56шт.

44

273-70-21530

JOINT

SN: 30082-UP

1шт.

Выбрано товаров: 53